授权公布号:CN214450512U
一种多层复合汽车脚垫
有效
申请
2020-12-09
申请公布
1970-01-01
授权
2021-10-22
预估到期
2030-12-09
| 申请号 | CN202022924673.X |
| 申请日 | 2020-12-09 |
| 授权公布号 | CN214450512U |
| 授权公告日 | 2021-10-22 |
| 分类号 | B60N3/04;B60K15/05 |
| 分类 | 一般车辆; |
| 申请人名称 | 河南牧宝车居股份有限公司 |
| 申请人地址 | 河南省开封市郑开大道296号自贸大厦A座205室住所集中地 |
专利法律状态
2021-10-22
授权
状态信息
授权
摘要
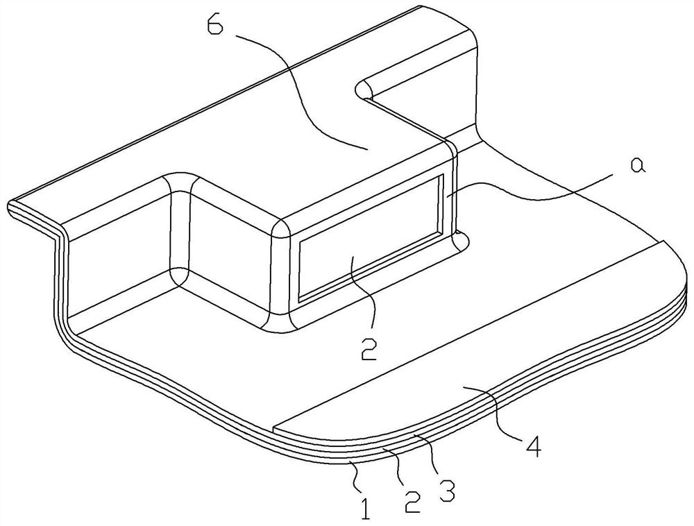
本发明涉及一种多层复合汽车脚垫,包括依次叠加的防滑底层、中间层、防滑上层和踏脚板,所述的防滑底层、中间层、防滑上层配合车内形状,踏脚板设置在驾驶室处的防滑上层表面,所述驾驶室处的部分在油箱盖拉手处设置凸起形成油箱拉手盒,所述凸起的车内侧面垂直于车底,所述防滑底层、防滑上层在该内侧面设置形状和大小均相同的开口,所述防滑底层、中间层、防滑上层在开口的边缘密封连接,所述中间层至少在开口处为弹性橡胶材质。本发明设置有油箱拉手盒,操作人员只需用手指直接插入开口即可接触油箱拉手,弹性的中间层起到防尘的作用,又不会阻碍手指的操作,无需把脚垫掀起,保证脚垫的形状稳定,延长脚垫的使用寿命。


