授权公布号:CN110652908B
一种纺织染料搅拌设备
有效
申请
2019-10-29
申请公布
2020-01-07
授权
2020-10-02
预估到期
2039-10-29
| 申请号 | CN201911039430.3 |
| 申请日 | 2019-10-29 |
| 申请公布号 | CN110652908A |
| 申请公布日 | 2020-01-07 |
| 授权公布号 | CN110652908B |
| 授权公告日 | 2020-10-02 |
| 分类号 | B01F7/18 |
| 分类 | 一般的物理或化学的方法或装置; |
| 申请人名称 | 威海毛纺织集团有限公司 |
| 申请人地址 | 山东省威海市高技术产业开发区初村镇北海工业园 |
专利法律状态
2020-10-02
授权
状态信息
授权
2020-09-25
专利申请权、专利权的转移
状态信息
专利申请权的转移;IPC(主分类):B01F7/18;登记生效日:20200907;变更事项:申请人;变更前:嵊州向合纺织科技有限公司;变更后:威海毛纺织集团有限公司;变更事项:地址;变更前:312400 浙江省绍兴市嵊州市崇仁镇镇南路71号;变更后:264200 山东省威海市高技术产业开发区初村镇北海工业园
2020-02-11
实质审查的生效
状态信息
实质审查的生效;IPC(主分类):B01F7/18;申请日:20191029
2020-01-07
公布
状态信息
公布
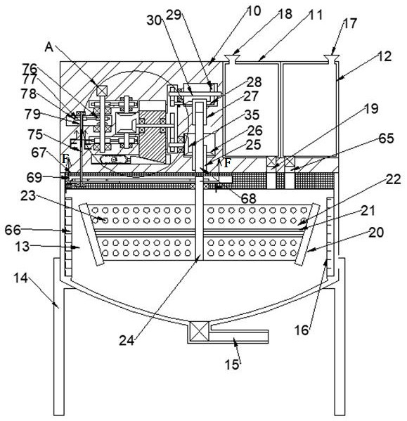
摘要
本发明涉及纺织领域,尤其是一种纺织染料搅拌设备,包括机身,所述机身右侧上表面固定设有储存颜料的颜料箱,所述颜料箱左侧固定设有储存水的水箱,所述机身下方设有用于支撑整体设备的支架,本发明提供的一种纺织染料搅拌设备,放弃了传统的单向旋转搅拌,搅拌器在搅拌过程中不断进行正反旋转,同时进行搅拌器上下浮动使得染料在搅拌过程中同时进行上下翻动,使得染料充分进行搅拌,同时在搅拌过程中,对染料进行控温加热,令水与颜料充分混合,保证色泽质量。


