授权公布号:CN219744385U
一种制氧机板式集成吸附塔模组
有效
申请
2023-05-23
申请公布
1970-01-01
授权
2023-09-26
预估到期
2033-05-23
| 申请号 | CN202321258407.5 |
| 申请日 | 2023-05-23 |
| 授权公布号 | CN219744385U |
| 授权公告日 | 2023-09-26 |
| 分类号 | B01D53/047;C01B13/02 |
| 分类 | 一般的物理或化学的方法或装置; |
| 申请人名称 | 可孚医疗科技股份有限公司 |
| 申请人地址 | 湖南省长沙市雨花区振华路816号 |
专利法律状态
2023-09-26
授权
状态信息
授权
摘要
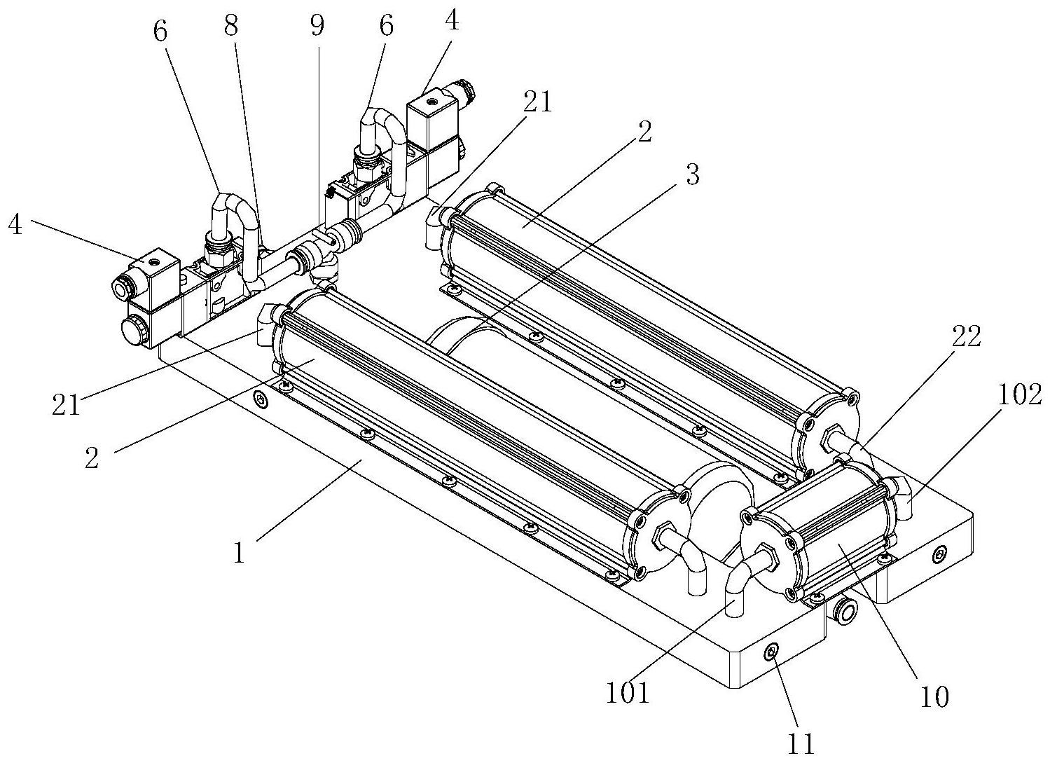
本实用新型提供一种制氧机板式集成吸附塔模组。所述制氧机板式集成吸附塔模组包括吸附塔、氧气缓冲罐、阀板、切换阀和气管;所述阀板内设有第一通道、第四通道、切换阀第二通道、切换阀第三通道和第五通道;所述切换阀上设有第一气口、第二气口及第三气口;所述第一通道与气管连通;两个所述切换阀第三通道均与第四通道连通;所述第四通道与大气连通;所述切换阀第二通道与第一接头一一连通,所述第二接头与第五通道一一连通;所述第三接头与一所述第五通道连通,所述第四接头与另一所述第五通道连通。本实用新型不仅保证通道的使用寿命,还能方便所有零部件都安装在阀板上,利于集成式结构的实现,节省设备空间。


