授权公布号:CN210177059U
一种织机加强型打纬机构
有效
申请
2019-06-14
申请公布
1970-01-01
授权
2020-03-24
预估到期
2029-06-14
| 申请号 | CN201920889641.5 |
| 申请日 | 2019-06-14 |
| 授权公布号 | CN210177059U |
| 授权公告日 | 2020-03-24 |
| 分类号 | D03D49/60 |
| 分类 | 织造; |
| 申请人名称 | 杭州奥坦斯布艺有限公司 |
| 申请人地址 | 浙江省杭州市余杭区东湖街道横塘村 |
专利法律状态
2020-03-24
授权
状态信息
授权
摘要
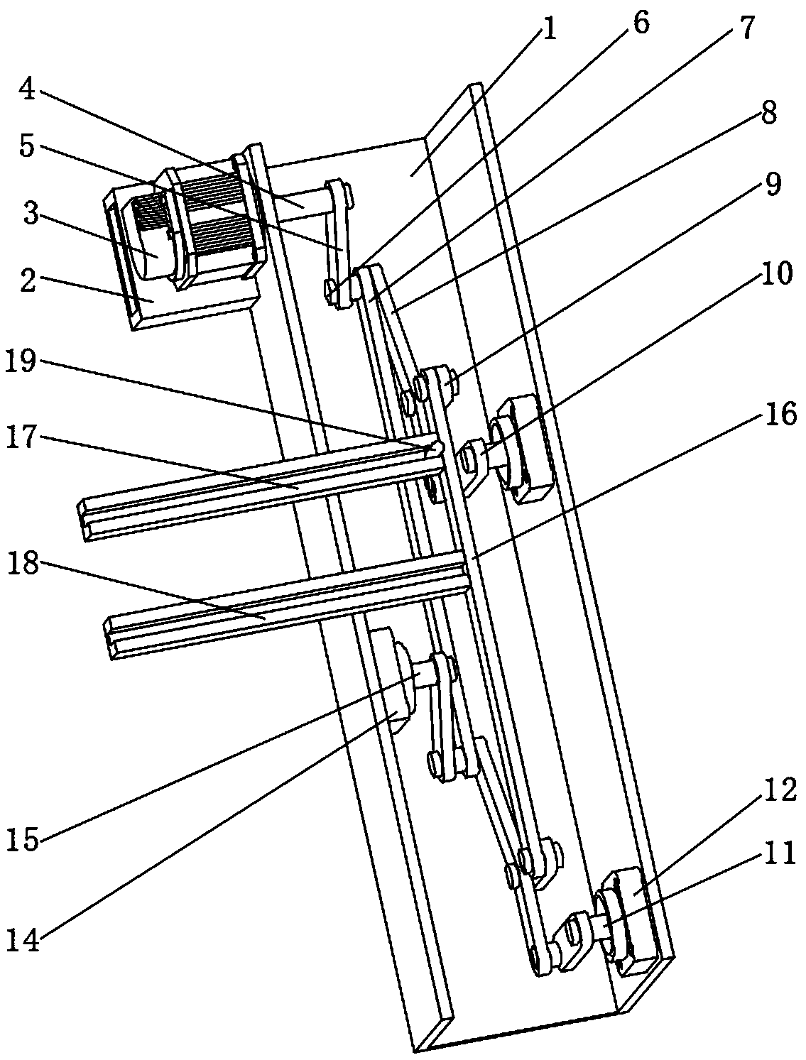
本实用新型涉及纺织设备技术领域,且公开了一种织机加强型打纬机构,包括基座,所述基座的左侧分别与电机架的右侧和电机的右侧固定连接,所述电机架位于电机的底部,所述电机的输出端穿过基座并与主动轴的左端固定连接,所述主动轴位于基座内部,所述主动轴的右端与第一转杆的顶端固定连接。该织机加强型打纬机构,通过电机带动两组第一转杆的转动,使得织机加强型打纬机构中钢筘的摆动速度较为平均,通过连接杆带动和支撑杆固定板进行角度变换,减小了织机加强型打纬机构的纵向抖动,使得织机加强型打纬机构运行较为平稳,通过设置有打纬刀和钢筘座,使得纬纱便于和经纱交织,设备运行更为稳定。


