授权公布号:CN210177064U
一种纺织用剑杆机自动吹气装置
有效
申请
2019-06-14
申请公布
1970-01-01
授权
2020-03-24
预估到期
2029-06-14
| 申请号 | CN201920889614.8 |
| 申请日 | 2019-06-14 |
| 授权公布号 | CN210177064U |
| 授权公告日 | 2020-03-24 |
| 分类号 | D03J1/00 |
| 分类 | 织造; |
| 申请人名称 | 杭州奥坦斯布艺有限公司 |
| 申请人地址 | 浙江省杭州市余杭区东湖街道横塘村 |
专利法律状态
2020-03-24
授权
状态信息
授权
摘要
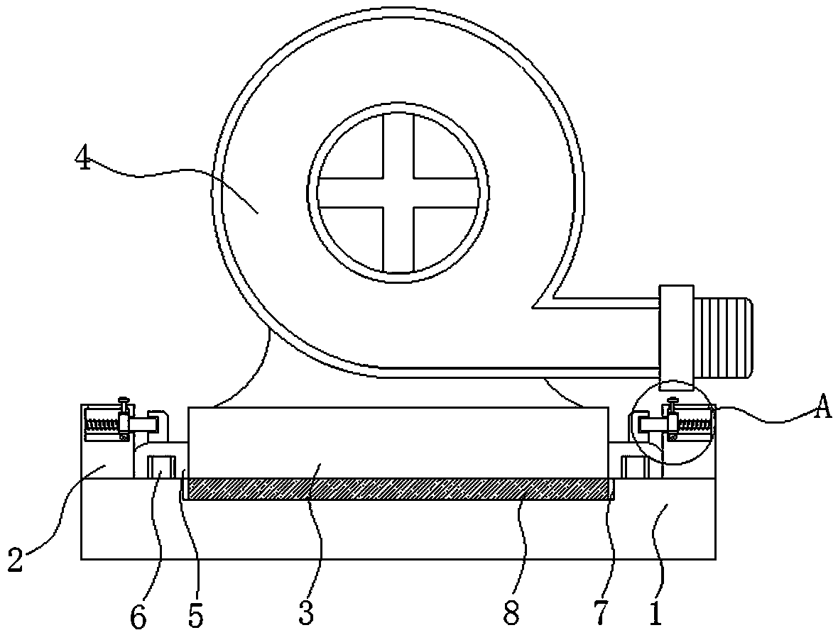
本实用新型涉及一种纺织用剑杆机自动吹气装置,包括安装座、两个侧板、机座和机体,两个所述侧板的底部分别与安装座顶部的左侧和右侧固定连接,所述机座的底部与安装座的顶部活动连接,所述机体的底部与机座的顶部固定连接,所述机座的左右两侧均包括有限位块、竖板和卡槽,两个所述限位块相对的一侧分别与机座的左侧和右侧固定连接,所述竖板的底部与限位块的顶部固定连接,所述卡槽位于竖板的一侧,两个所述侧板的内部均开设有空腔,两个所述空腔的内部均包括有安装机构。该装置在使用时达到了便于安装固定的效果。


