授权公布号:CN218988320U
一种装饰布生产用输送装置
有效
申请
2022-12-16
申请公布
1970-01-01
授权
2023-05-09
预估到期
2032-12-16
| 申请号 | CN202223383224.4 |
| 申请日 | 2022-12-16 |
| 授权公布号 | CN218988320U |
| 授权公告日 | 2023-05-09 |
| 分类号 | B65H20/06;B65H23/34;B03C3/34 |
| 分类 | 输送;包装;贮存;搬运薄的或细丝状材料; |
| 申请人名称 | 杭州奥坦斯布艺有限公司 |
| 申请人地址 | 浙江省杭州市余杭区东湖街道横塘村 |
专利法律状态
2023-05-09
授权
状态信息
授权
摘要
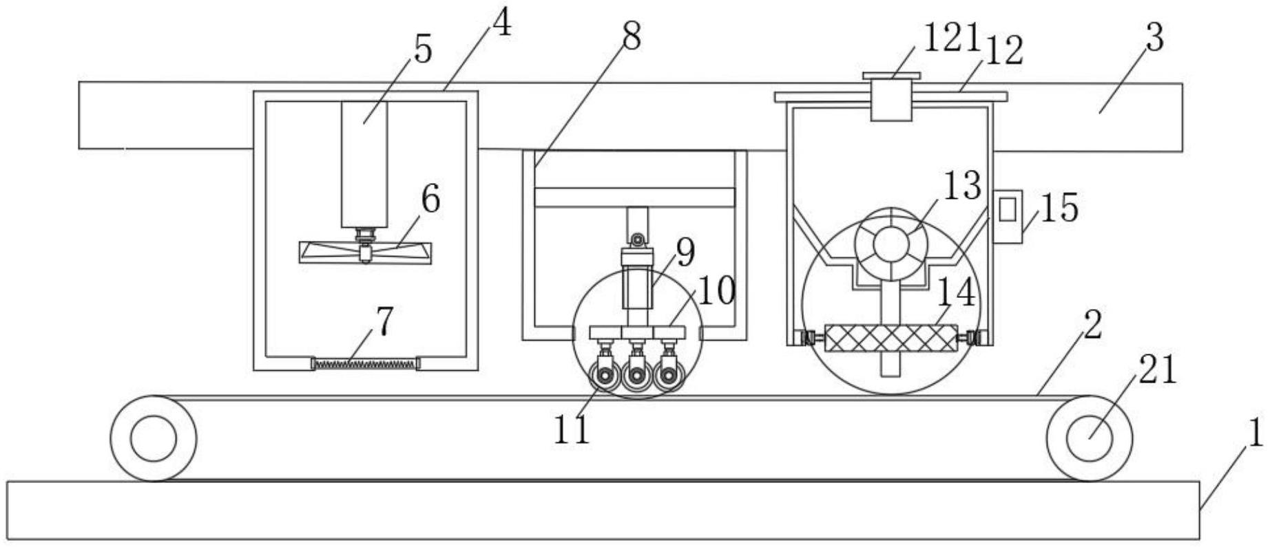
本实用新型公开了一种装饰布生产用输送装置,包括底座,底座的顶部设置有输送带,底座的上方固定安装有横梁,横梁上固定安装有底部开口的第一箱体,第一箱体的内部顶壁固定安装有支架,支架的底部固定安装有风机,第一箱体底部开口处固定安装有电阻丝,横梁上固定安装有固定架,固定架的内部固定安装有电动伸缩杆,电动伸缩杆的底部固定安装有安装板,安装板的底部转动安装有压辊,横梁上固定安装有第二箱体,第二箱体的内部固定安装有鼓风机;该一种装饰布生产用输送装置,可以达到在输送生产线上除尘以及整平的目的,提高装饰布输送品质。


