授权公布号:CN218642041U
一种布料生产自动收集卷绕机构
有效
申请
2022-12-16
申请公布
1970-01-01
授权
2023-03-17
预估到期
2032-12-16
| 申请号 | CN202223382838.0 |
| 申请日 | 2022-12-16 |
| 授权公布号 | CN218642041U |
| 授权公告日 | 2023-03-17 |
| 分类号 | B65H18/10;D06G1/00;H05F3/00 |
| 分类 | 输送;包装;贮存;搬运薄的或细丝状材料; |
| 申请人名称 | 杭州奥坦斯布艺有限公司 |
| 申请人地址 | 浙江省杭州市余杭区东湖街道横塘村 |
专利法律状态
2023-03-17
授权
状态信息
授权
摘要
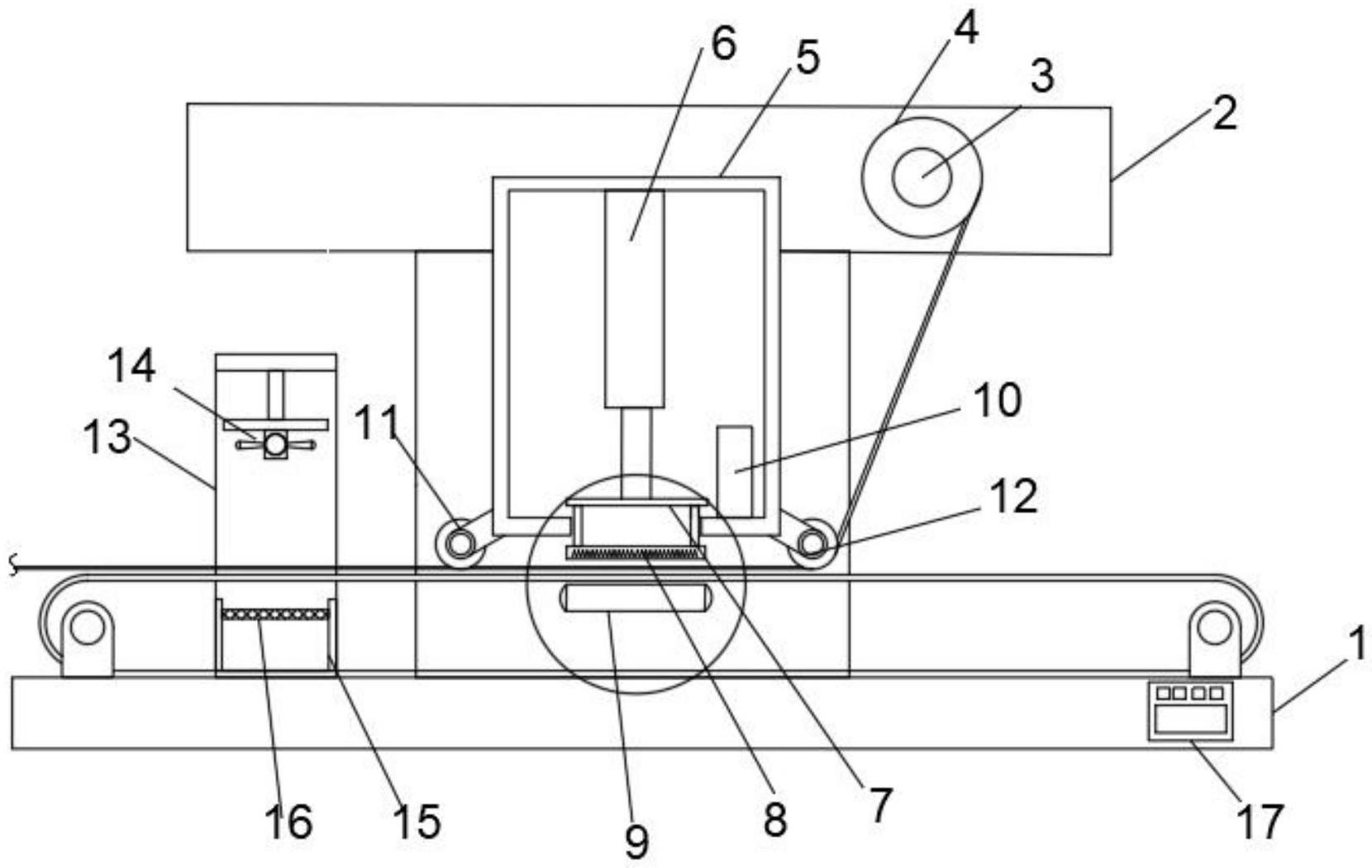
本实用新型公开了一种布料生产自动收集卷绕机构,包括底座,底座的上方固定安装有机架,机架上转动安装有收卷辊,收卷辊外周固定安装有收卷滚筒,机架上固定安装有安装架,安装架的内部顶壁固定安装有电动伸缩杆,电动伸缩杆的底端固定连接有承置架,承置架的底部固定安装有金属网,金属网的下方固定安装有金属板,安装架的内部固定安装有静电发生器,安装架的底部两侧分别转动安装有第二导向辊,底座的顶部固定安装有支架,支架的内部固定安装有风扇,风扇的下方固定安装有收集槽,收集槽内部固定安装有滤尘网;该一种布料生产自动收集卷绕机构,可以达到具有自动卷绕以及碎屑除尘以及静电消除的目的。


