授权公布号:CN215822822U
水轮式往复搅拌蛋液设备
有效
申请
2021-09-15
申请公布
1970-01-01
授权
2022-02-15
预估到期
2031-09-15
| 申请号 | CN202122241178.3 |
| 申请日 | 2021-09-15 |
| 授权公布号 | CN215822822U |
| 授权公告日 | 2022-02-15 |
| 分类号 | B01F27/70;B01F27/73;B01F27/192;A23L15/00;B01F101/06N |
| 分类 | 一般的物理或化学的方法或装置; |
| 申请人名称 | 上海永德食品机械有限公司 |
| 申请人地址 | 上海市奉贤区庄行欧洲工业园区航南公路55号 |
专利法律状态
2022-02-15
授权
状态信息
授权
摘要
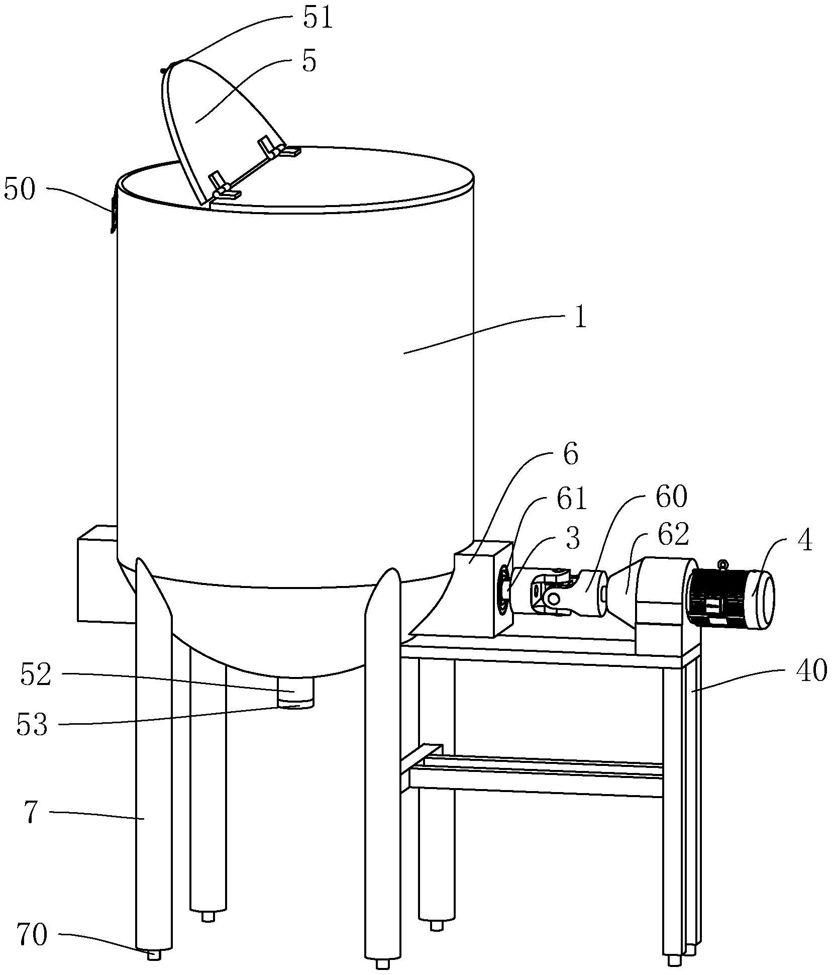
本申请涉及一种水轮式往复搅拌蛋液设备,涉及食品加工设备领域,其包括罐体、驱动件以及搅拌件,所述搅拌件设置在罐体内部,所述搅拌件包括搅拌桨以及转动轴,所述搅拌桨安装在转动轴上,所述转动轴水平设置在罐体底部,所述驱动件设置在罐体外侧处,所述驱动件用于驱动转动轴进行转动。本申请具有实现批量生产混合蛋液的效果。


