授权公布号:CN219746357U
一种刀柄可调的PCD加工刀具
有效
申请
2023-05-31
申请公布
1970-01-01
授权
2023-09-26
预估到期
2033-05-31
| 申请号 | CN202321356572.4 |
| 申请日 | 2023-05-31 |
| 授权公布号 | CN219746357U |
| 授权公告日 | 2023-09-26 |
| 分类号 | B23B27/00;B23Q3/00;B23Q11/00 |
| 分类 | 机床;不包含在其他类目中的金属加工; |
| 申请人名称 | 深圳市力博刀具技术有限公司 |
| 申请人地址 | 广东省深圳市宝安区福海街道稔田社区工业区42号1层、2层 |
专利法律状态
2023-09-26
授权
状态信息
授权
摘要
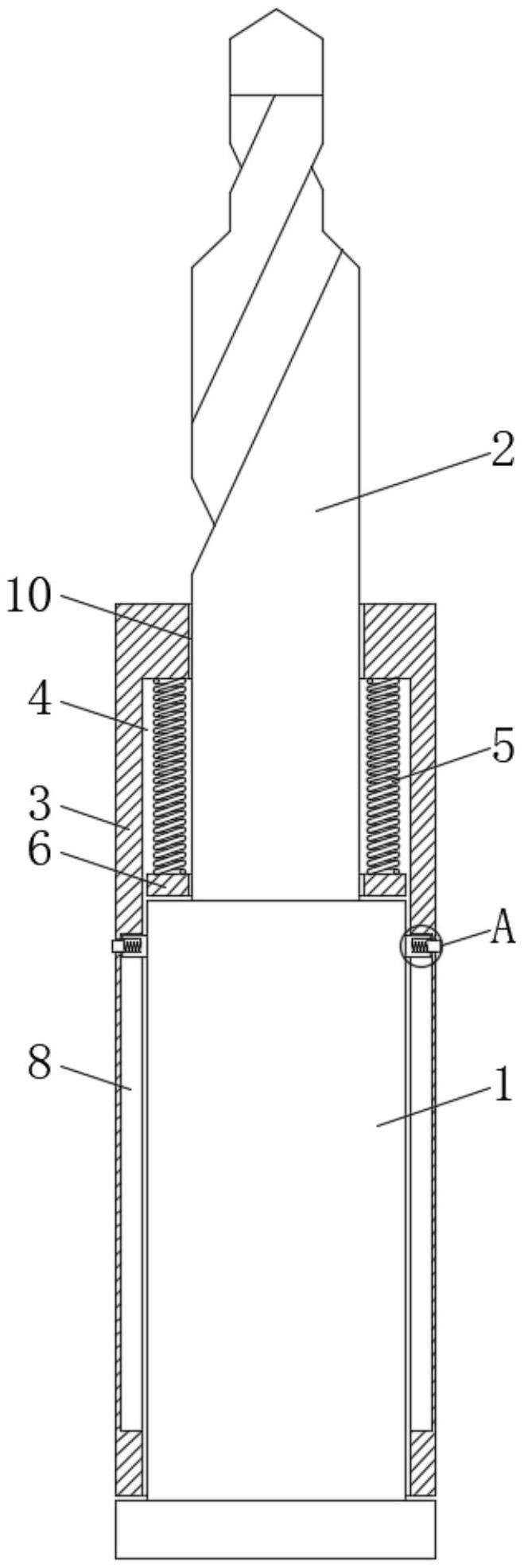
本实用新型涉及数控刀具技术领域,且公开了一种刀柄可调的PCD加工刀具,包括刀柄本体,所述刀柄本体的顶端固定安装有PCD刀具,所述PCD刀具的侧表面活动套接有护套,所述护套的底端开设有圆柱槽,所述刀柄本体的侧表面与圆柱槽的内部活动连接,所述圆柱槽内顶壁的左右两侧均固定连接有伸缩弹簧。该刀柄可调的PCD加工刀具,通过按动护套两侧的按钮,使两个按钮分别从两个插孔内相对移出至两个竖槽中,使两个伸缩弹簧弹力恢复,使推动护套向上移动,使刀柄本体两侧的安装块下滑至两个竖槽的内底壁处,使PCD刀具被保护在护套内,护套与台面撞击时两个伸缩弹簧可进行缓冲,从而防止刀具被撞断,进而便于PCD加工刀具的防护使用。


