授权公布号:CN211345904U
一种用于太阳能光伏热泵系统的储水箱
有效
申请
2019-12-25
申请公布
1970-01-01
授权
2020-08-25
预估到期
2029-12-25
| 申请号 | CN201922361503.2 |
| 申请日 | 2019-12-25 |
| 授权公布号 | CN211345904U |
| 授权公告日 | 2020-08-25 |
| 分类号 | F24S80/00 |
| 分类 | 供热;炉灶;通风; |
| 申请人名称 | 桑夏太阳能股份有限公司 |
| 申请人地址 | 江苏省南通市通州区西亭镇工业园区 |
专利法律状态
2020-08-25
授权
状态信息
授权
摘要
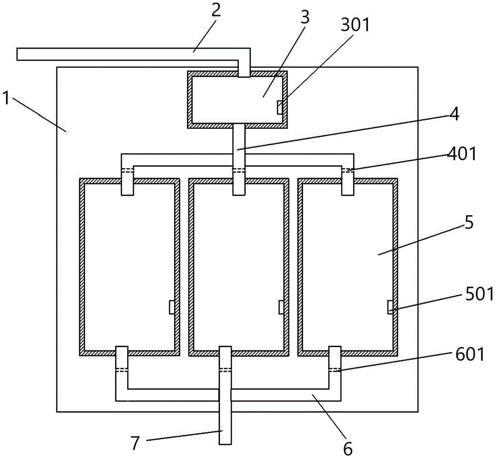
本实用新型公开了一种用于太阳能光伏热泵系统的储水箱,其特征在于,包括水箱外壳,所述水箱外壳内部设有进水管,所述第一进水管连接有控制水箱,所述控制水箱设有第一出水管,所述第一出水管连接有若干储水箱,所述若干储水箱均设有出水管。本实用新型通过将在储水箱中设置多个储水箱用于存储不同温度的热水,可以满足用户对不同温度水的需求。通过设置第一电子阀门、第二电子阀门可以控制、温度传感器和水位传感器,可以控制不同温度水的存储以及释放。


