授权公布号:CN218722361U
热水器水箱结构
有效
申请
2022-10-08
申请公布
1970-01-01
授权
2023-03-24
预估到期
2032-10-08
| 申请号 | CN202222635443.0 |
| 申请日 | 2022-10-08 |
| 授权公布号 | CN218722361U |
| 授权公告日 | 2023-03-24 |
| 分类号 | F24S80/00;F24H9/00 |
| 分类 | 供热;炉灶;通风; |
| 申请人名称 | 桑夏太阳能股份有限公司 |
| 申请人地址 | 江苏省南通市通州区西亭镇工业园区 |
专利法律状态
2023-03-24
授权
状态信息
授权
摘要
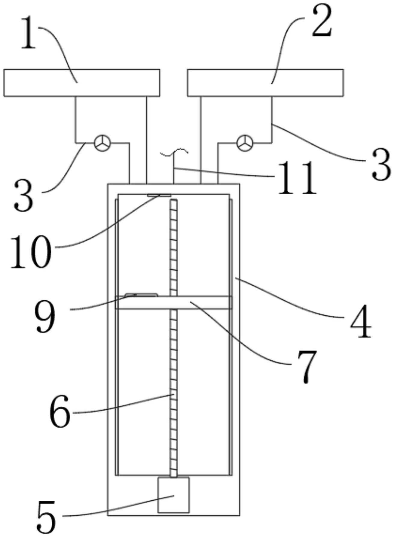
本实用新型涉及热水器水箱领域,具体为热水器水箱结构,包括太阳能集热器和空气能集热器;所述太阳能集热器和空气能集热器的下端分别安装有一组供水管道,两组所述供水管道的下端均安装在水箱的顶部,本实用新型中,在需要使用热水时,通过对水箱的控制,以通过降低需加热水量的方式,快速提升热水温度,能够快速获得所需温度的热水,通过控制隔盘与水箱顶部的距离,以控制待循环流体的数量和加热时间,方便按需求调节,且还能够在供水不足如不能填满水箱时,能够正常使用太阳能集热器和空气能集热器获取所需热水,方便在缺水环境下使用。


