授权公布号:CN209545856U
音箱以及声音扩散系统
有效
申请
2019-05-22
申请公布
1970-01-01
授权
2019-10-25
预估到期
2029-05-22
| 申请号 | CN201920741921.1 |
| 申请日 | 2019-05-22 |
| 授权公布号 | CN209545856U |
| 授权公告日 | 2019-10-25 |
| 分类号 | H04R1/24;H04R1/26 |
| 分类 | 电通信技术; |
| 申请人名称 | 北京麦颂文化传播有限公司 |
| 申请人地址 | 北京市昌平区回龙观镇天龙苑28号楼2层101 |
专利法律状态
2019-10-25
授权
状态信息
授权
摘要
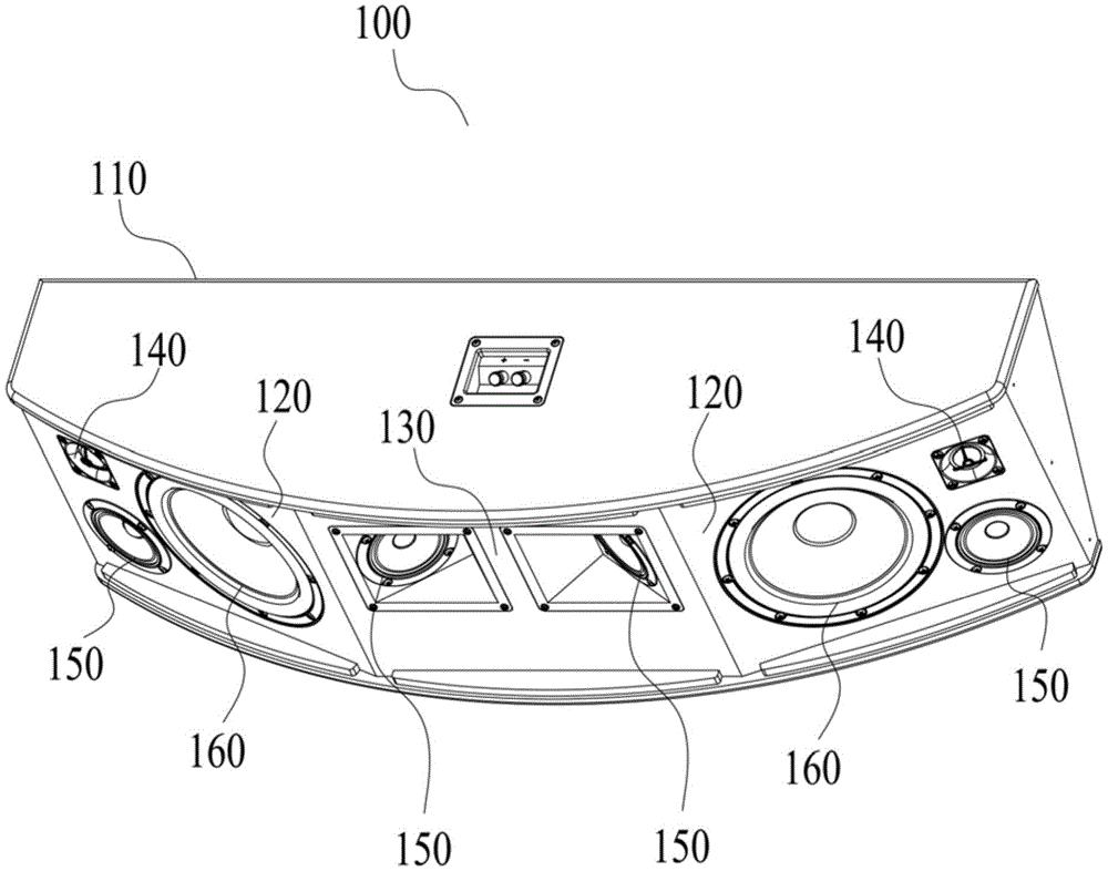
本实用新型涉及一种音箱以及声音扩散系统,所述音箱包括箱体,在箱体中设置有角度扩散面板和前面板,所述角度扩散面板布置于所述前面板的两侧,使得所述前面板向外突出,所述音箱还包括高音喇叭,中高音喇叭和低音喇叭,所述高音喇叭,中高音喇叭和低音喇叭设置于所述角度扩散面板和前面板,所述声音扩散系统包括多个所述音箱,本实用新型解决了现有的音箱自身辐射角度较小,音箱系统调试困难,以及音箱所在房间内的声场混乱等问题。


