授权公布号:CN216010829U
一种低噪音炉头
有效
申请
2021-06-18
申请公布
1970-01-01
授权
2022-03-11
预估到期
2031-06-18
| 申请号 | CN202121361987.1 |
| 申请日 | 2021-06-18 |
| 授权公布号 | CN216010829U |
| 授权公告日 | 2022-03-11 |
| 分类号 | F23D14/00;F23D14/46;F23D14/76;F23D14/78 |
| 分类 | 燃烧设备;燃烧方法; |
| 申请人名称 | 浙江威猛达科技有限公司 |
| 申请人地址 | 浙江省金华市永康市西城四方路77号内第一幢 |
专利法律状态
2022-03-11
授权
状态信息
授权
摘要
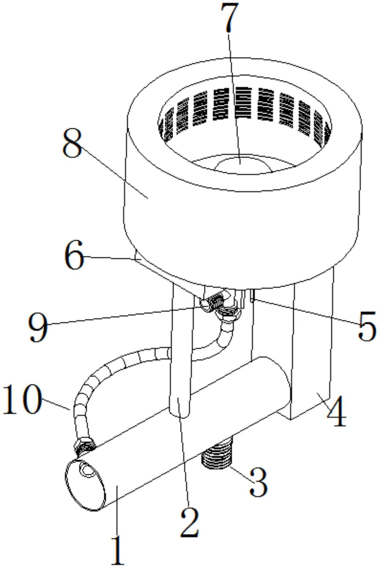
本实用新型公开了一种低噪音炉头,包括不锈钢炉头,不锈钢炉头底部底部固定有方形风盖,方形风盖顶部中间固定有点火保护壳,点火保护壳底部连接有点火针,点火针卡在方形风盖上,点火保护壳底部连接有T型铜接头,T型铜接头底部设有波纹管,T型铜接头一头连接在点火针保护盖内部,T型铜接头另一头连接波纹管,方形风盖底部左侧焊接固定有出风管的一端,不锈钢炉头底部右侧焊接固定有进风方管,进风方管左面底部焊接固定有进风圆管,进风圆管均通过焊接固定有波纹管和出风管,进风方管、波纹管和出风管均与进风圆管连通;本实用新型一种低噪音炉头通过具有防止点火爆燃现象、防止点火针温度过高、低噪音的优点。


