授权公布号:CN213597814U
一种智能控制的防火门
有效
申请
2020-09-22
申请公布
1970-01-01
授权
2021-07-02
预估到期
2030-09-22
| 申请号 | CN202022087118.6 |
| 申请日 | 2020-09-22 |
| 授权公布号 | CN213597814U |
| 授权公告日 | 2021-07-02 |
| 分类号 | E06B5/16;E06B3/36;E06B3/70;E05B47/00;E05F15/00;G07C9/00 |
| 分类 | 一般门、窗、百叶窗或卷辊遮帘;梯子; |
| 申请人名称 | 亚萨合莱龙电(深圳)门业有限公司 |
| 申请人地址 | 广东省深圳市光明新区公明办事处东坑社区东发路7号厂房3栋、厂房6栋、厂房8栋、厂房9栋 |
专利法律状态
2021-07-02
授权
状态信息
授权
摘要
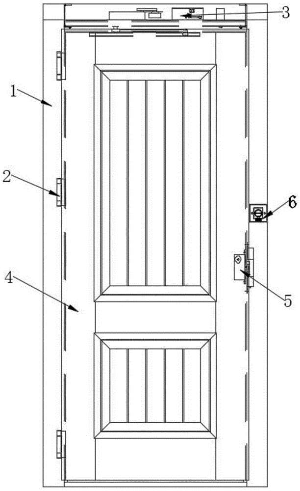
本实用新型公开了一种智能控制的防火门,涉及防火门领域,包括门框和门扇,所述门框和所述门扇之间设置有用于连接两者的冲合页,还设置有开门机和电控锁,所述门框内外两侧分别设置有用于控制的非接触开关和人脸识别器,所述开门机设置在所述门框内且其外侧设置有开门机壳。设置有电控锁和开门机,并设置有用于控制的非接触开关和人脸识别器,可以实现自动开启门扇,进出无需手动开启,更加方便,门扇内设置防火门芯板,最外层外包覆镀锌钢板,耐火隔热性能好,弱电线路均布置在门框内,门扇上无弱电线路,布置更加灵活,防火性能更好。


