授权公布号:CN113069736B
一种产后盆底肌肉收缩康复训练装置
有效
申请
2021-04-07
申请公布
2021-07-06
授权
2022-05-31
预估到期
2041-04-07
| 申请号 | CN202110369690.8 |
| 申请日 | 2021-04-07 |
| 申请公布号 | CN113069736A |
| 申请公布日 | 2021-07-06 |
| 授权公布号 | CN113069736B |
| 授权公告日 | 2022-05-31 |
| 分类号 | A63B23/20;A63B21/055 |
| 分类 | 运动;游戏;娱乐活动; |
| 申请人名称 | 深圳德佳智联科技有限公司 |
| 申请人地址 | 广东省深圳市宝安区西乡街道黄田杨贝工业区一期第3栋2楼A区 |
专利法律状态
2022-05-31
授权
状态信息
授权
2021-07-06
公布
状态信息
公布
摘要
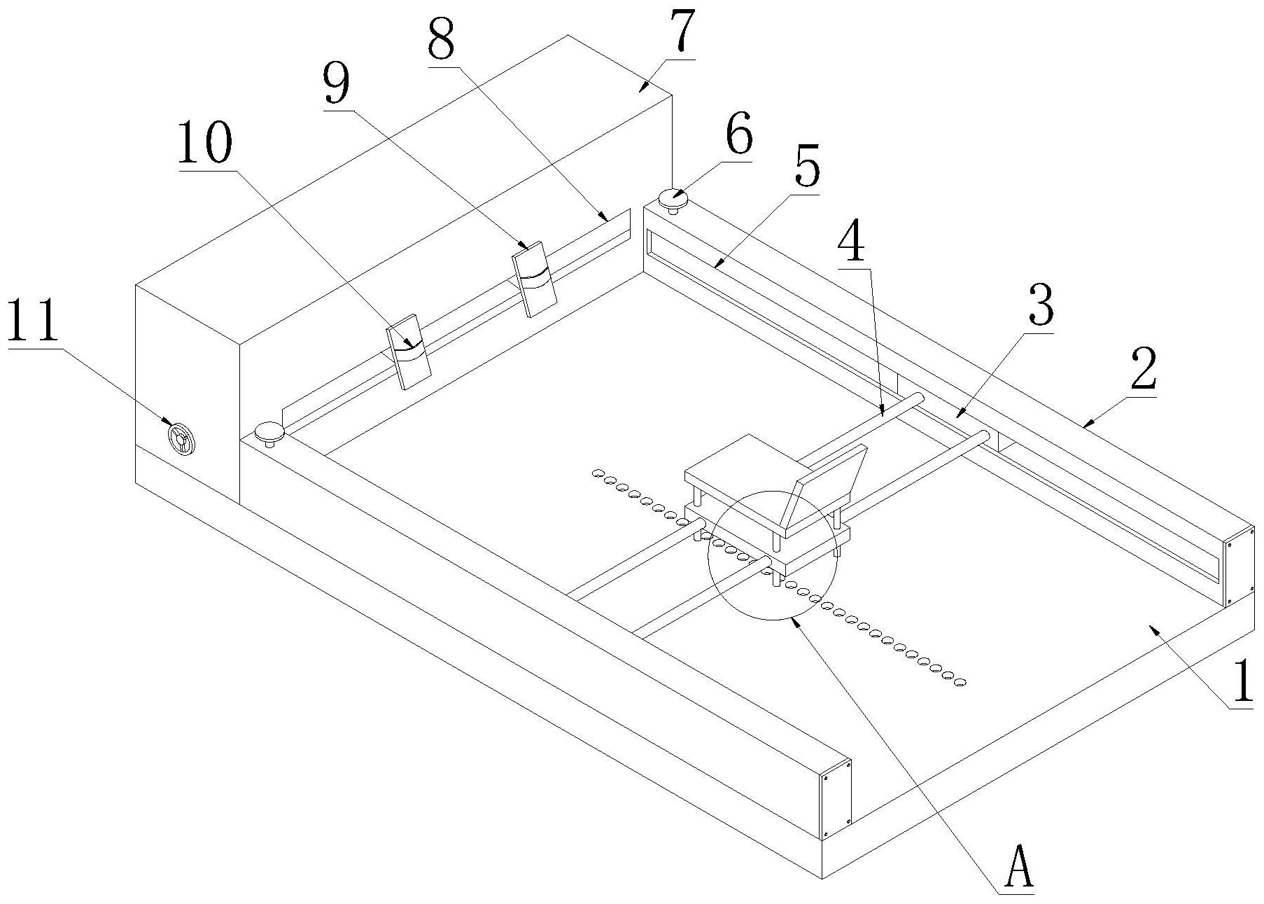
一种产后盆底肌肉收缩康复训练装置,包括底座、两组第一滑动部、座椅、两组第一滑动部、多组第二连接杆、两组脚踏板、两组第二滑动块和两组第一滑动块;底座上设有两组第一外壳和第二外壳;第一外壳内设有用于滑动连接第一滑动部的第一滑动组件和驱动第一滑动块移动的第一驱动组件;第一滑动部和第一滑动块通过多组第一弹簧连接;座椅通过连接杆连接两组第一滑动部;第二外壳内设有用于滑动连接两组第二滑动部的第二滑动组件,第二外壳上设有用于驱动两组第二滑动块移动的第二驱动组件;两组第二滑动块和两组第二滑动部之间通过多组第二弹簧连接;两组脚踏板分别连接两组第二滑动部。本发明能满足对产后女性盆底肌肉收缩康复训练的需求。


