授权公布号:CN112472135B
一种点阵式聚焦超声能量输出装置
有效
申请
2020-11-27
申请公布
2021-03-12
授权
2022-12-06
预估到期
2040-11-27
| 申请号 | CN202011355107.X |
| 申请日 | 2020-11-27 |
| 申请公布号 | CN112472135A |
| 申请公布日 | 2021-03-12 |
| 授权公布号 | CN112472135B |
| 授权公告日 | 2022-12-06 |
| 分类号 | A61B8/08;A61B8/00;A61G13/00;A61G13/02;A61G13/10 |
| 分类 | 医学或兽医学;卫生学; |
| 申请人名称 | 广州通泽医疗科技有限公司 |
| 申请人地址 | 湖南省长沙市开福区沙坪街道中青路1048号山河医药健康产业园13-15栋309号 |
专利法律状态
2023-08-04
专利申请权、专利权的转移
状态信息
专利权的转移;IPC(主分类):A61B8/08;专利号:ZL202011355107X;登记生效日:20230725;变更事项:专利权人;变更前权利人:广州通泽医疗科技有限公司;变更后权利人:通泽(湖南)医疗科技有限公司;变更事项:地址;变更前权利人:510000 广东省广州市番禺区南村镇板桥桥西路20号之一501;变更后权利人:410000 湖南省长沙市开福区沙坪街道中青路1048号山河医药健康产业园13-15栋309号
2022-12-06
授权
状态信息
授权
2021-03-30
实质审查的生效
状态信息
实质审查的生效;IPC(主分类):A61B8/08;申请日:20201127
2021-03-12
公布
状态信息
公布
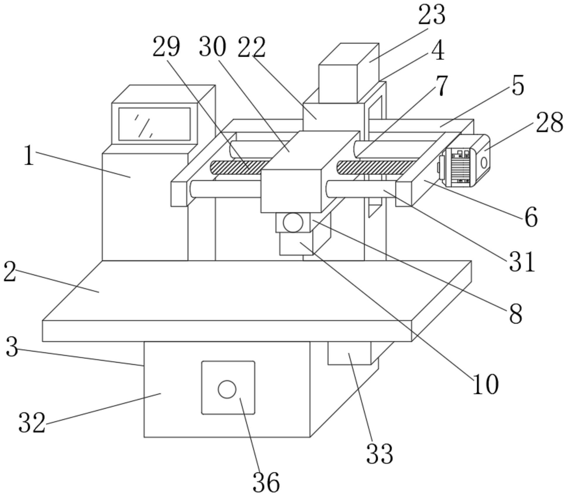
摘要
本发明公开了一种点阵式聚焦超声能量输出装置,包括超声主机,所述超声主机位于床板的一侧,所述床板的底端设置有平移机构;通过设置平移机构、升降机构、横向移动机构和电动滑台,将外壳与电动滑台滑动连接,外壳的内部下方设置有声波头,当患者躺在床板上后,平移机构通过驱动床板将患者移动到声波头的位置,升降机构便于根据患者的体征对声波头进行高度调节,在声波检查过程中,通过横向移动机构驱动声波头进行横向移动,进而使声波头更换不同的检查位置,通过电动滑台使声波头可以纵向更换检查位置,进而使声波头达到了全方位移动的效果,从而代替了手动移动声波头,降低了医护人员的工作负担。


