授权公布号:CN209363875U
一种全自动高性能激光切割设备
有效
申请
2018-09-06
申请公布
1970-01-01
授权
2019-09-10
预估到期
2028-09-06
| 申请号 | CN201821458105.1 |
| 申请日 | 2018-09-06 |
| 授权公布号 | CN209363875U |
| 授权公告日 | 2019-09-10 |
| 分类号 | B23K26/38;B23K26/08 |
| 分类 | 机床;不包含在其他类目中的金属加工; |
| 申请人名称 | 深圳市禾力激光设备有限公司 |
| 申请人地址 | 广东省深圳市光明新区公明街道东坑社区东发路27号雅明街5号工业园百利大厦2楼A区 |
专利法律状态
2019-09-10
授权
状态信息
授权
摘要
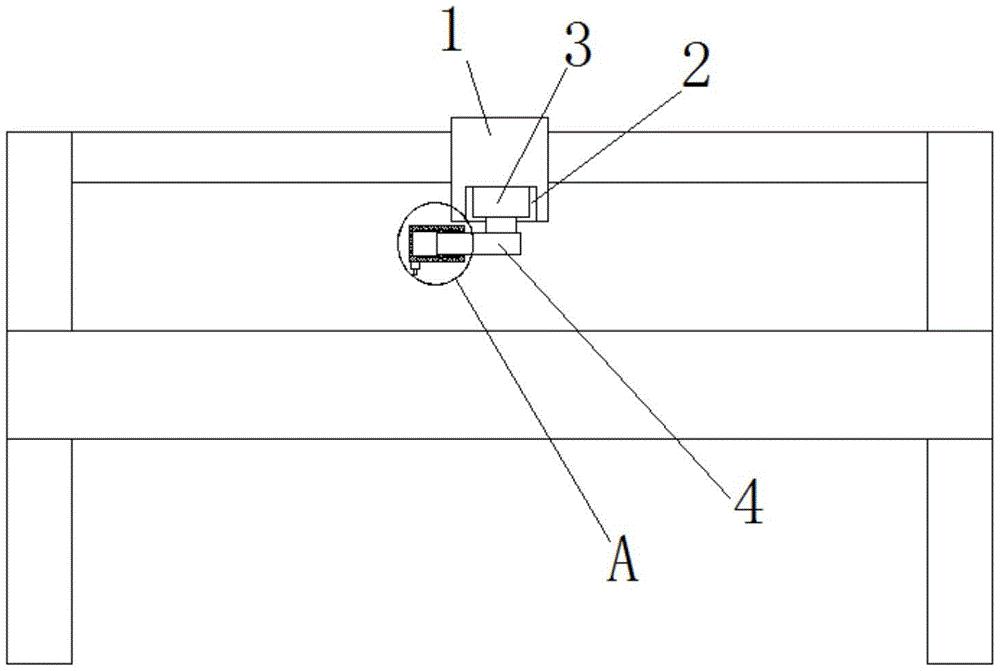
本实用新型公开了一种全自动高性能激光切割设备,包括滑动块和切割机,所述滑动块的底部开设有第一凹槽,第一凹槽的顶部内壁上固定安装有步进电机,步进电机的输出轴上固定安装有转动杆,转动杆上活动安装有移动杆,移动杆的一侧开设有第二凹槽,第二凹槽的两侧内壁上均开设有滑槽,两个滑槽上均滑动安装有滑块,两个滑块相互靠近的一侧均与对应的转动杆的一侧固定安装,所述移动杆的底部与切割机的顶部固定安装,切割机的底部固定安装有切割头。本实用新型结构简单,操作方便,实现了对材料的切圆,并通过调节切圆的大小,满足了生产的需求,通过防滑板和橡胶垫的配合增加了摩擦力,进而增加了移动杆的稳定性。


