授权公布号:CN216940805U
一种折叠式试电电工刀
有效
申请
2021-12-27
申请公布
1970-01-01
授权
2022-07-12
预估到期
2031-12-27
| 申请号 | CN202123319535.X |
| 申请日 | 2021-12-27 |
| 授权公布号 | CN216940805U |
| 授权公告日 | 2022-07-12 |
| 分类号 | B26B11/00 |
| 分类 | 手动切割工具;切割;切断; |
| 申请人名称 | 武汉巨精机电有限公司 |
| 申请人地址 | 湖北省武汉市硚口区古田二路汇丰企业总部4栋A座3楼1号 |
专利法律状态
2022-07-12
授权
状态信息
授权
摘要
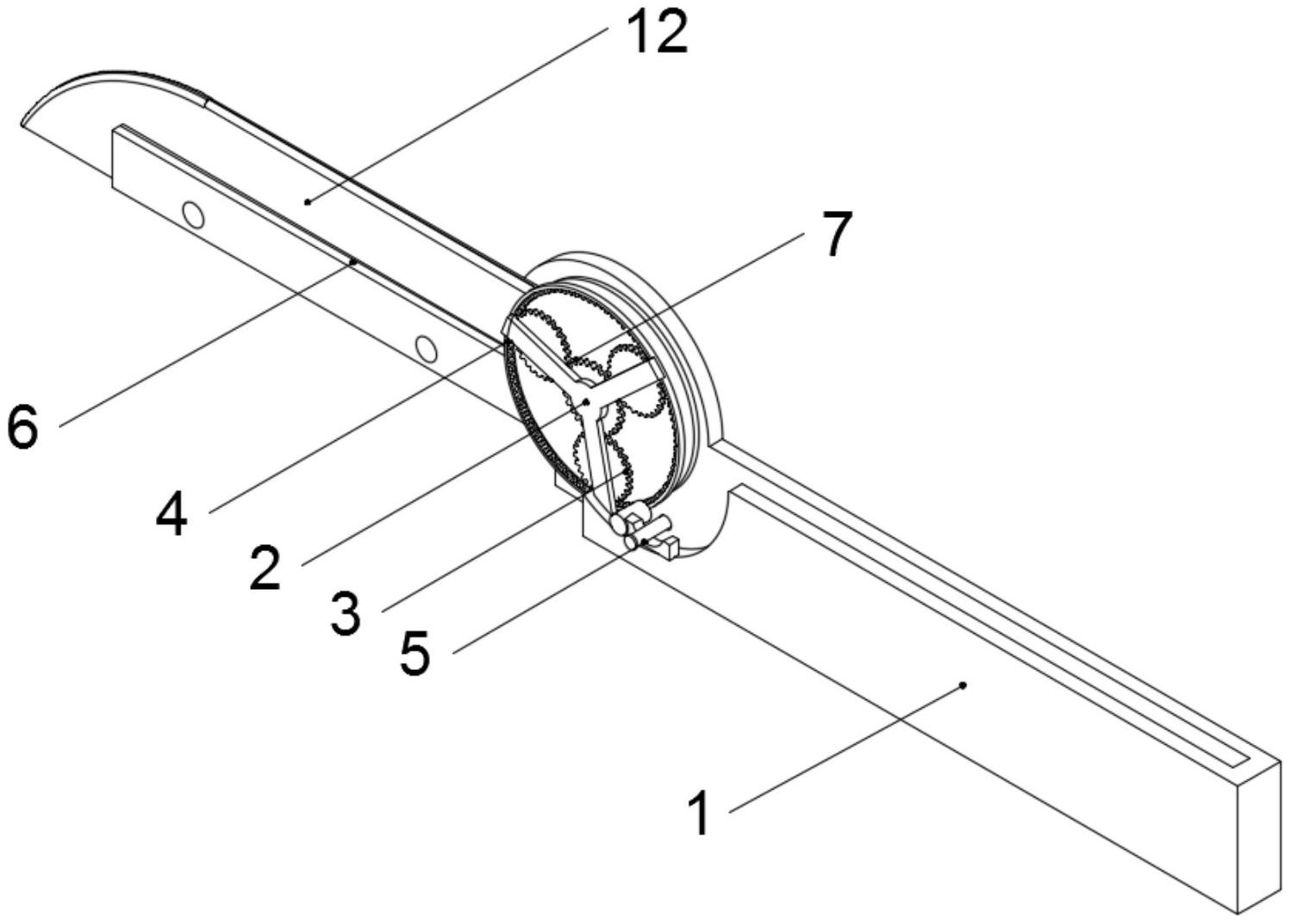
本实用新型提供一种折叠式试电电工刀,涉及电工刀技术领域,解决了现在的电工刀刀体损坏不易更换的问题,包括刀身、行星齿轮组和试电装置,刀身的一侧设有刀架,刀架的一侧开设有“十”字形安装槽,“十”字形安装槽的内部卡合安装有第一齿轮,刀架的一侧卡合安装有刀体,刀架与刀体之间通过螺丝连接,刀身的一侧嵌设安装有轴承,第一齿轮的一端套设在轴承的内部,刀身在靠近刀架的一侧嵌设安装有试电装置,刀身的一侧活动插设有限位柱,刀身的一侧固定安装有安装架。该实用新型,结构简单合理,设计新颖,操作简单便捷,能有够对试电电工刀的刀体进行更换,具有较高的实用价值。


