授权公布号:CN218770979U
一种伸缩绝缘撑杆
有效
申请
2021-12-27
申请公布
1970-01-01
授权
2023-03-28
预估到期
2031-12-27
| 申请号 | CN202123319487.4 |
| 申请日 | 2021-12-27 |
| 授权公布号 | CN218770979U |
| 授权公告日 | 2023-03-28 |
| 分类号 | H02G3/02;H02K7/06 |
| 分类 | 发电、变电或配电; |
| 申请人名称 | 武汉巨精机电有限公司 |
| 申请人地址 | 湖北省武汉市硚口区古田二路汇丰企业总部4栋A座3楼1号 |
专利法律状态
2023-03-28
授权
状态信息
授权
摘要
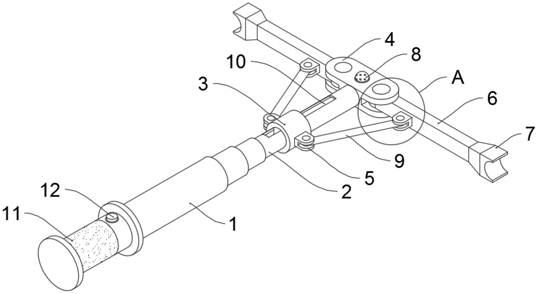
本实用新型提供一种伸缩绝缘撑杆,涉及绝缘设备技术领域,解决了现在的无法进行双相电路操控的问题,包括伸缩杆本体,所述伸缩杆本体一端连接有空心绝缘管,所述空心绝缘管外壁一侧设置有一对滑槽,一对所述滑槽之间滑动连接有滑板,所述滑板外壁连接有套筒,且所述套筒外壁连接有一对第一活动座,所述空心绝缘管内部一侧嵌设有轴承,所述空心绝缘管通过轴承活动连接有螺纹杆,所述螺纹杆的一端与滑板的一侧螺纹连接,所述空心绝缘管一端安装有连接引脚,所述连接引脚两端穿插有销轴,所述连接引脚分别通过销轴活动连接有支撑杆。该实用新型能够进行双相电路操控,并且具备更高的工作效率。


