授权公布号:CN211266223U
一种多功能操作杆
有效
申请
2019-11-15
申请公布
1970-01-01
授权
2020-08-14
预估到期
2029-11-15
| 申请号 | CN201921986375.4 |
| 申请日 | 2019-11-15 |
| 授权公布号 | CN211266223U |
| 授权公告日 | 2020-08-14 |
| 分类号 | H02B3/00 |
| 分类 | 发电、变电或配电; |
| 申请人名称 | 武汉巨精机电有限公司 |
| 申请人地址 | 湖北省武汉市硚口区古田二路汇丰企业总部4栋A座3楼1号 |
专利法律状态
2020-08-14
授权
状态信息
授权
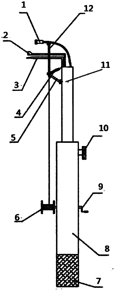
摘要
本实用新型公开了一种多功能操作杆,操作杆的侧面安装有线轮,线轮通过线连接有调节杆,调节杆上端支撑有摄像头。操作杆的一侧安装有手轮,在操作杆侧上方安装有紧固旋钮,操作杆的上端连接有固定座。固定座上端安装有合闸推杆,固定座上端安装有导电头,摄像头的末端连接在固定座的顶部。固定座的侧面连接有支杆,支杆的另一端连接有拉簧。操作杆的底部套有绝缘套。通过摄像头随时观察配电柜内部情况,可以通过拉杆对死角位置进行观察,便于观察员处理;绝缘套可以防止观察员触电。


