授权公布号:CN215414378U
一种车辆发动机故障检测装置
有效
申请
2021-05-10
申请公布
1970-01-01
授权
2022-01-04
预估到期
2031-05-10
| 申请号 | CN202120975688.0 |
| 申请日 | 2021-05-10 |
| 授权公布号 | CN215414378U |
| 授权公告日 | 2022-01-04 |
| 分类号 | G01M15/02 |
| 分类 | 测量;测试; |
| 申请人名称 | 上海利真汽车服务咨询有限公司 |
| 申请人地址 | 上海市浦东新区川沙路1098号8幢 |
专利法律状态
2022-01-04
授权
状态信息
授权
摘要
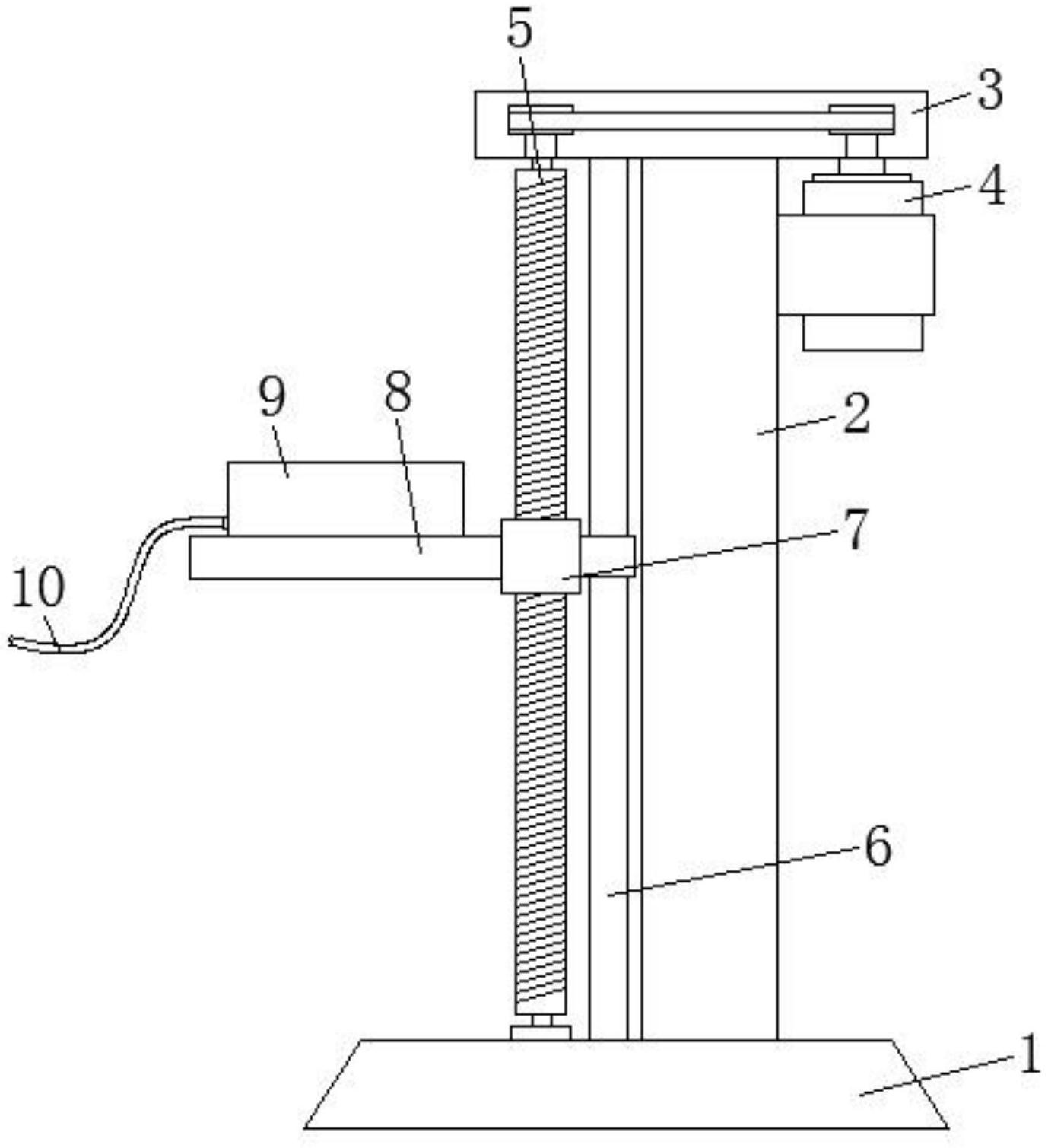
本实用新型属于汽车发动机故障检测技术领域,且公开了一种车辆发动机故障检测装置,包括底座和声音传感器,所述底座与横梁之间设置有支撑柱、丝杠和导向杆,且导向杆位于支撑柱和丝杠之间,所述丝杠的两端分别与底座和横梁转动连接,所述支撑柱远离导向杆的一侧上端固定有电机,所述电机与丝杠通过皮带传动连接,所述丝杠上螺纹连接有丝杠螺母座,且丝杠螺母座远离导向杆的一侧设置有移动板,所述移动板的顶部固定有故障检测仪;本实用新型设置了可移动的移动板,通过电机驱动丝杠转动带动丝杠螺母座上下移动,从而实现带动移动板上下移动,进而带动故障检测仪上下移动,使得故障检测仪能够适应不同高度的OBD接口,方便使用。


