授权公布号:CN111665056B
一种内燃机飞轮转动检测机构
有效
申请
2020-06-17
申请公布
2020-09-15
授权
2022-07-29
预估到期
2040-06-17
| 申请号 | CN202010551848.9 |
| 申请日 | 2020-06-17 |
| 申请公布号 | CN111665056A |
| 申请公布日 | 2020-09-15 |
| 授权公布号 | CN111665056B |
| 授权公告日 | 2022-07-29 |
| 分类号 | G01M15/04;G01M15/02 |
| 分类 | 测量;测试; |
| 申请人名称 | 万高(上海)汽车科技有限公司 |
| 申请人地址 | 上海市虹口区纪念路500号1幢304室 |
专利法律状态
2022-07-29
授权
状态信息
授权
2022-07-26
专利申请权、专利权的转移
状态信息
专利申请权的转移;IPC(主分类):G01M 15/04;专利申请号:2020105518489;登记生效日:20220713;变更事项:申请人;变更前权利人:全椒县全动机械有限公司;变更后权利人:万高(上海)汽车科技有限公司;变更事项:地址;变更前权利人:239500 安徽省滁州市全椒县经济开发区173号;变更后权利人:200086 上海市虹口区纪念路500号1幢304室
2020-10-13
实质审查的生效
状态信息
实质审查的生效;IPC(主分类):G01M 15/04;专利申请号:2020105518489;申请日:20200617
2020-09-15
公布
状态信息
公布
摘要
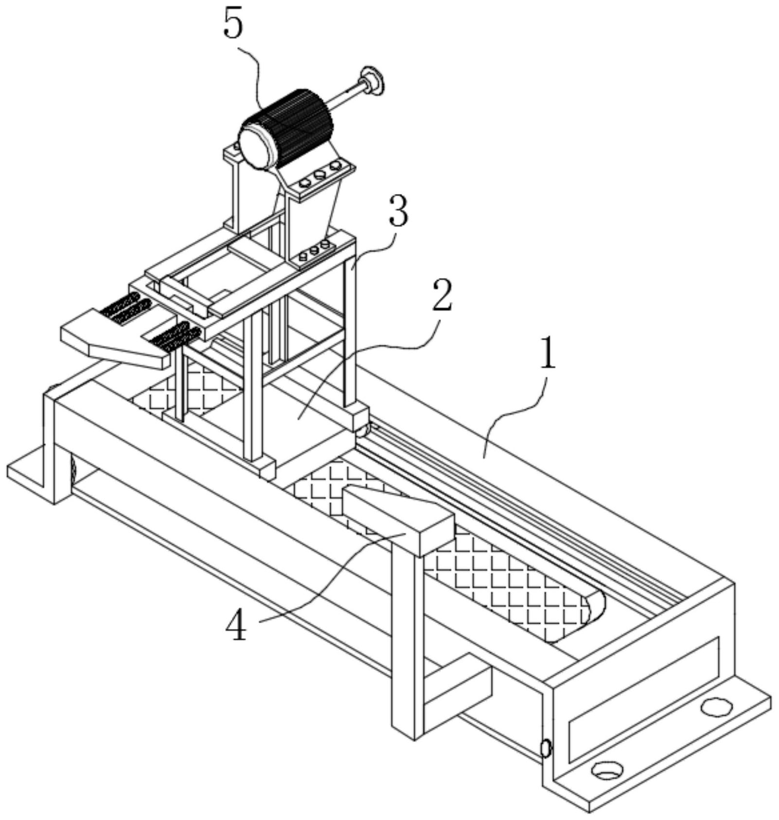
本发明公开了一种内燃机飞轮转动检测机构,包括:移动导轨架、自动检测主体架;所述移动导轨架上滚动嵌入设置有连接底座,所述移动导轨架的一端外侧连接有推送楔形块,所述移动导轨架中设置有用于对连接底座进行驱动复位使用的复位输送机构;所述检测主体架由调节导轨架和滑动调节架组成,所述调节导轨架固定在连接底座上,所述滑动调节架滑动设置在调节导轨架上,所述滑动调节架的尾端还连接有用于配合推送楔形块驱动滑动调节架进行复位使用的复位楔形块。本发明通过复位输送机构配合锁至机构,实现自动进行复位连续检测,在对内燃机飞轮进行转动检测时不需要对内燃机流水线进行停机操作。


