授权公布号:CN215496189U
一种电缆电线生产用笼绞机
有效
申请
2021-08-24
申请公布
1970-01-01
授权
2022-01-11
预估到期
2031-08-24
| 申请号 | CN202121996476.7 |
| 申请日 | 2021-08-24 |
| 授权公布号 | CN215496189U |
| 授权公告日 | 2022-01-11 |
| 分类号 | H01B13/02;G01L5/04 |
| 分类 | 基本电气元件; |
| 申请人名称 | 河北联讯电子产品制造有限公司 |
| 申请人地址 | 河北省保定市博野县小店镇周于庄 |
专利法律状态
2022-01-11
授权
状态信息
授权
摘要
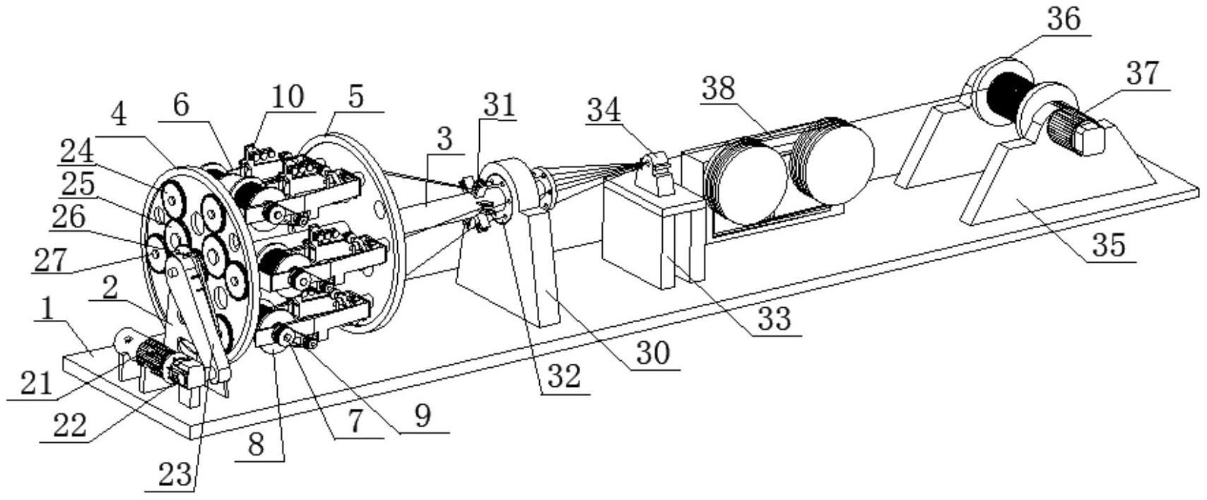
本实用新型公开一种电缆电线生产用笼绞机,包括底座,底座上固定安装有第一支座,第一支座上转动连接有主轴,主轴上固定安装有第一绞盘和第二绞盘,第一绞盘和第二绞盘之间转动连接有若干篮架;篮架上穿设有第一转轴,第一转轴上可拆卸连接有放线盘,篮架上固定安装有伺服电机,篮架远离第一绞盘的一端固定安装有张力传感器,篮架上转动连接有安装座,安装座上固定安装有气缸,气缸输出端固定连接有第一支架,第一支架远离气缸的一端转动连接有张力轮,张力轮位于张力传感器和第二绞盘之间,本申请通过以上设置实现了每股芯线张力的自动调节,保证每股芯线张力达到设定要求,本装置结构简单,适合大范围推广。


