授权公布号:CN215820660U
一种安全可靠的新型真空保温杯
有效
申请
2021-01-26
申请公布
1970-01-01
授权
2022-02-15
预估到期
2031-01-26
| 申请号 | CN202120223380.0 |
| 申请日 | 2021-01-26 |
| 授权公布号 | CN215820660U |
| 授权公告日 | 2022-02-15 |
| 分类号 | A47J41/00;A47J41/02;A47G19/22 |
| 分类 | 家具;家庭用的物品或设备;咖啡磨;香料磨;一般吸尘器; |
| 申请人名称 | 中山市美斯特实业有限公司 |
| 申请人地址 | 广东省中山市同乐工业园 |
专利法律状态
2022-02-15
授权
状态信息
授权
摘要
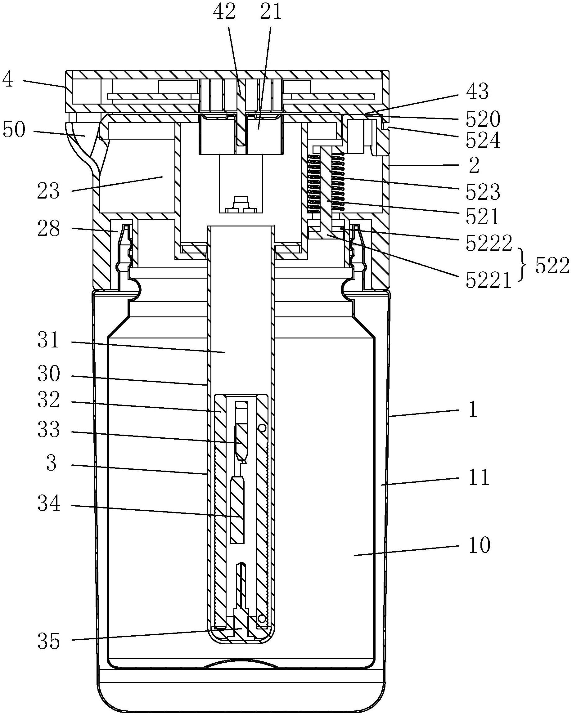
本发明创造涉及一种安全可靠的新型真空保温杯,包括真空杯体和盖合在真空杯体上的加热杯盖,加热杯盖与真空杯体盖合时形成加热储水腔,在加热杯盖上设有加热装置和密封与排气机构,加热装置包括可伸入加热储水腔内的加热头,密封与排气机构包括排气口、能将排气口与加热储水腔连通的泄压阀口以及设置在泄压阀口处用于控制泄压阀口闭合或打开的密封开关阀;在加热杯盖上还设置有可拆卸连接的控制件,控制件内设置有用于控制加热装置进行加热的加热控制系统,当杯盖与控制盖连接时排气机构联动打开排气,控制电路板与加热棒接触工作,有效实现加热功能与排气功能联动,无需用户手动排气,安全性能高。


