授权公布号:CN212939451U
一种具有电子调速功能的搅肉机
有效
申请
2020-06-16
申请公布
1970-01-01
授权
2021-04-13
预估到期
2030-06-16
| 申请号 | CN202021120674.2 |
| 申请日 | 2020-06-16 |
| 授权公布号 | CN212939451U |
| 授权公告日 | 2021-04-13 |
| 分类号 | A47J43/07;A47J43/10;A47J43/044 |
| 分类 | 家具;家庭用的物品或设备;咖啡磨;香料磨;一般吸尘器; |
| 申请人名称 | 中山市美斯特实业有限公司 |
| 申请人地址 | 广东省中山市东凤镇同乐工业园 |
专利法律状态
2021-04-13
授权
状态信息
授权
摘要
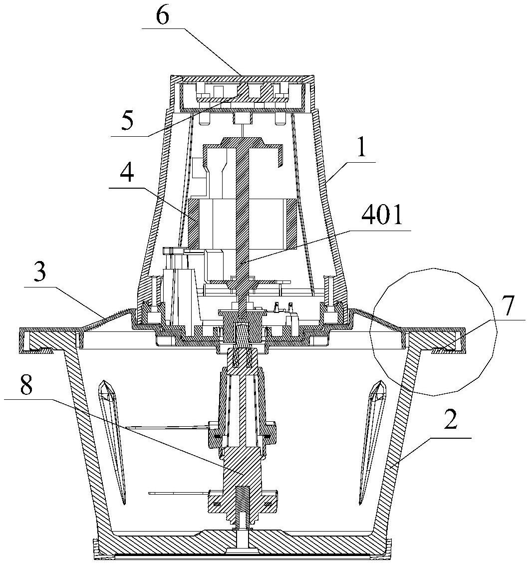
本实用新型实施例提供了一种具有电子调速功能的搅肉机,包括杯盖,所述杯盖上设有搅肉机机头,所述搅肉机机头包括电子调速装置和驱动电机,所述电子调速装置和所述驱动电机电连接;杯组,所述杯组和所述杯盖可拆卸连接,所述杯组内设有搅拌刀组,所述搅拌刀组和所述驱动电机机械连接。通过电子调速装置控制驱动电机的转动,可设置多档转速,适合加工各种食材;驱动电机和搅拌刀组直接连接,中间略去减速齿轮箱的调速作用,保证驱动电机和搅拌刀组同心运转,从而减少设备的能量损耗和振动噪音。


