授权公布号:CN211274423U
环氧地坪涂料制备用搅拌分散机
有效
申请
2019-12-06
申请公布
1970-01-01
授权
2020-08-18
预估到期
2029-12-06
| 申请号 | CN201922181495.3 |
| 申请日 | 2019-12-06 |
| 授权公布号 | CN211274423U |
| 授权公告日 | 2020-08-18 |
| 分类号 | B01F7/26;B01F15/00 |
| 分类 | 一般的物理或化学的方法或装置; |
| 申请人名称 | 深圳市朗迈新材料科技有限公司 |
| 申请人地址 | 广东省深圳市南山区桃源街道学苑大道1001号智园B1栋17楼 |
专利法律状态
2020-08-18
授权
状态信息
授权
摘要
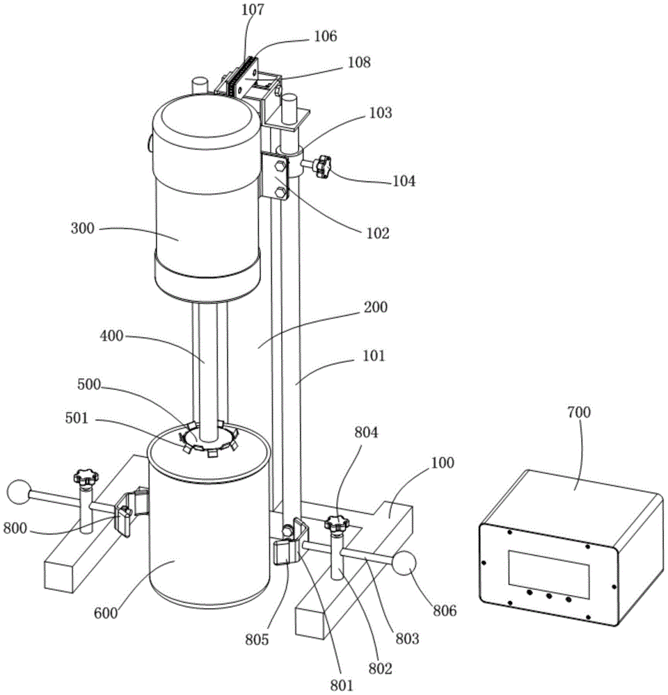
本实用新型涉及分散机技术领域,公开了一种环氧地坪涂料制备用搅拌分散机,包括底座、立柱、电机、搅拌轴、分散盘、料桶、调速机以及夹持器,立柱竖直的设置在底座上,电机可上下滑动的设置在立柱上,搅拌轴与电机的输出轴连接,分散盘设在搅拌轴的下端部,料桶设置在搅拌轴的下方,且搅拌轴的下端部可转动的伸入料桶内设置,调速机设置在底座的一侧,且调速机与电机电连接,夹持器分别设置在底座的两侧,且夹持器分别与料桶的外周壁抵接。本实用新型的技术方案能够使搅拌分散效果更均匀,提高了效率,且结构简单,安装与拆卸方便,使用方便,实用性强。


