授权公布号:CN216003254U
化妆品用全自动一体灌装机
有效
申请
2021-07-01
申请公布
1970-01-01
授权
2022-03-11
预估到期
2031-07-01
| 申请号 | CN202121497517.8 |
| 申请日 | 2021-07-01 |
| 授权公布号 | CN216003254U |
| 授权公告日 | 2022-03-11 |
| 分类号 | B65B43/54;B65B1/30;B65B61/28 |
| 分类 | 输送;包装;贮存;搬运薄的或细丝状材料; |
| 申请人名称 | 江苏美爱斯化妆品股份有限公司 |
| 申请人地址 | 江苏省苏州市吴江区北厍厍星路588号 |
专利法律状态
2022-03-11
授权
状态信息
授权
摘要
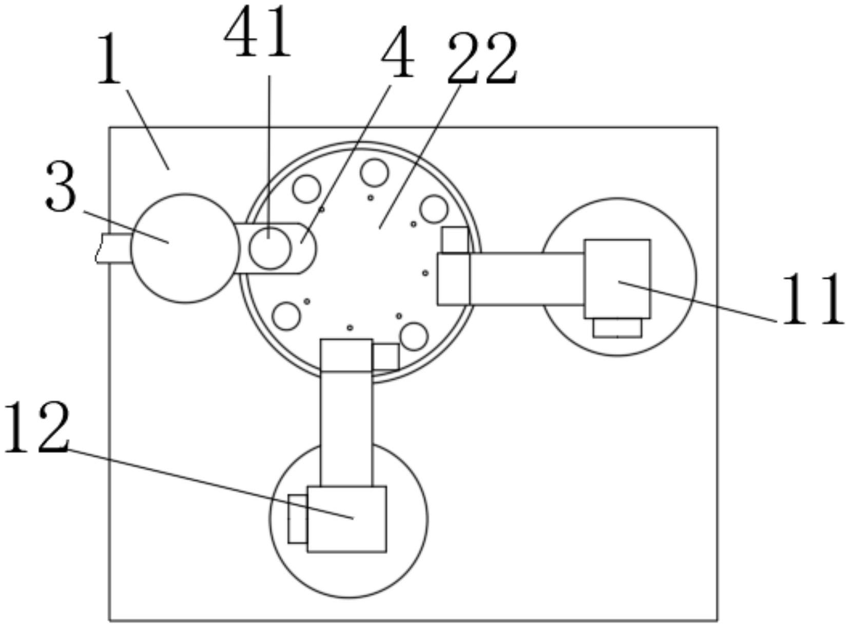
本实用新型公开了化妆品用全自动一体灌装机,包括底座,所述底座顶部中心处固定连接有固定座,所述底座顶部靠近固定座位置设置有第一机械手和第二机械手,所述固定座内顶部中心处固定连接有驱动电机,所述驱动电机驱动端固定连接有转动盘。本实用新型通过在固定座顶部设置有定位元件,方便定位器与定位元件进行定位,随后启动气缸使得出料口靠近放置于放置槽中的瓶子位置,随后通过泵体将承装筒中的物料从出料口注入放置槽中的瓶子中,通过定量阀规定装入瓶子中的物料,完成承装后,通过启动驱动电机带动转动盘转动,对下一个放置槽进行相同的工作,同时配套设置有第一机械手和第二机械手,通过第一机械手和第二机械手进行卸瓶子和上瓶子的任务。


