授权公布号:CN204916228U
一种旋转下料阀
有效
申请
2015-07-16
申请公布
1970-01-01
授权
2015-12-30
预估到期
2025-07-16
| 申请号 | CN201520516200.2 |
| 申请日 | 2015-07-16 |
| 授权公布号 | CN204916228U |
| 授权公告日 | 2015-12-30 |
| 分类号 | B65B1/10;B65B1/08 |
| 分类 | 输送;包装;贮存;搬运薄的或细丝状材料; |
| 申请人名称 | 陕西欢恩宝乳业股份有限公司 |
| 申请人地址 | 陕西省咸阳市秦都区宝泉路以北高新区创业园一号 |
专利法律状态
2015-12-30
授权
状态信息
授权
摘要
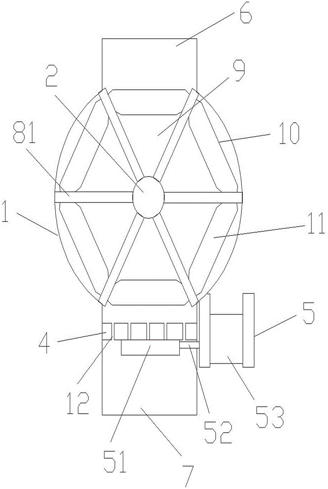
本实用新型公开了一种旋转下料阀,用于奶粉加工,包括壳体、转轴、电机、出料板、振动散料件,所述壳体上部开设有进料口,所述壳体下部开设有出料口,该进料口与出料口的轴线位于同一直线上,所述转轴置于壳体内中部位置,转轴其中一端部延伸出壳体连接有电机,所述转轴连接有旋转轮,所述旋转轮由至少3片旋转叶片构成,该旋转叶片端部的其中一端垂直固接在转轴上,旋转叶片沿转轴外周面均匀间隔设置,相邻两片旋转叶片之间形成粉料容置槽,所述粉料容置槽内均设有粉料切割板。本实用新型旋转方式下料,下料速度可控制,可适应小流量下料,所下物料经过切割均为散体,不存在结块。


