授权公布号:CN208515211U
一种奶粉罐钢印机
有效
申请
2018-07-09
申请公布
1970-01-01
授权
2019-02-19
预估到期
2028-07-09
| 申请号 | CN201821079025.5 |
| 申请日 | 2018-07-09 |
| 授权公布号 | CN208515211U |
| 授权公告日 | 2019-02-19 |
| 分类号 | B41K3/36;B41K3/62 |
| 分类 | 印刷;排版机;打字机;模印机〔4〕; |
| 申请人名称 | 陕西欢恩宝乳业股份有限公司 |
| 申请人地址 | 陕西省咸阳市秦都区宝泉路以北高新区创业园一号 |
专利法律状态
2019-02-19
授权
状态信息
授权
摘要
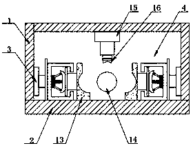
本实用新型公开了一种奶粉罐钢印机,包括壳体,所述壳体底端设有底座,所述底座两侧均设有第一电动伸缩杆,所述第一电动伸缩杆一端与壳体内壁固定连接,所述第一电动伸缩杆输出端设有夹持装置,所述夹持装置包括固定壳,所述固定壳内设有缓冲箱,所述缓冲箱内设有第一弹簧,所述第一弹簧两端均设有滑块。本实用新型通过设有夹持装置,壳体两侧第一电动伸缩杆伸长带动夹持装置往中间移动,两侧的夹持块在运动过程中逐渐形成凹槽,将奶粉罐体放置进凹槽内,罐体自身具有硬度,推动夹持块往一侧运动,夹持块往一侧运动推动衔接块往一侧运动,衔接块往一侧运动带动与连杆与滑块连接端往一侧运动,从而使第一弹簧收缩。


