授权公布号:CN208411118U
一种奶粉罐用喷码钢印设备
有效
申请
2018-07-09
申请公布
1970-01-01
授权
2019-01-22
预估到期
2028-07-09
| 申请号 | CN201821079794.5 |
| 申请日 | 2018-07-09 |
| 授权公布号 | CN208411118U |
| 授权公告日 | 2019-01-22 |
| 分类号 | B41J3/01;B41J3/407;B41J3/54;B41K3/36;B65B61/02 |
| 分类 | 印刷;排版机;打字机;模印机〔4〕; |
| 申请人名称 | 陕西欢恩宝乳业股份有限公司 |
| 申请人地址 | 陕西省咸阳市秦都区宝泉路以北高新区创业园一号 |
专利法律状态
2019-01-22
授权
状态信息
授权
摘要
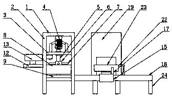
本实用新型公开了一种奶粉罐用喷码钢印设备,包括喷码装置,所述喷码装置包括固定架,所述固定架内侧设有固定板,所述固定板顶部设有伺服电机,所述伺服电机外侧设有固定杆,所述固定杆与固定板固定连接,所述伺服电机底部设有转轴,所述伺服电机输出轴与转轴固定连接,所述转轴贯穿固定板,所述转轴外侧设有限位筒,所述限位筒顶部和底部均设有拨动杆,所述拨动杆外侧设有限位环。本实用新型通过设有喷码装置,拨动杆将奶粉罐拨入到限位环内部,同时限位筒对奶粉罐进行固定,有利于提升奶粉罐在旋转过程中的移动稳定性,提升固定效果,可以提升对奶粉罐移动至限位环内部的效率,避免奶粉罐在拨动时发生推挤的情况。


