授权公布号:CN209004575U
具有零靠墙摆放功能的按摩椅
有效
申请
2018-06-12
申请公布
1970-01-01
授权
2019-06-21
预估到期
2028-06-12
| 申请号 | CN201820909726.0 |
| 申请日 | 2018-06-12 |
| 授权公布号 | CN209004575U |
| 授权公告日 | 2019-06-21 |
| 分类号 | A61H1/00 |
| 分类 | 医学或兽医学;卫生学; |
| 申请人名称 | 宁波奥森健身器材科技有限公司 |
| 申请人地址 | 浙江省宁波市北仑区新碶街道黄海路100号 |
专利法律状态
2019-06-21
授权
状态信息
授权
摘要
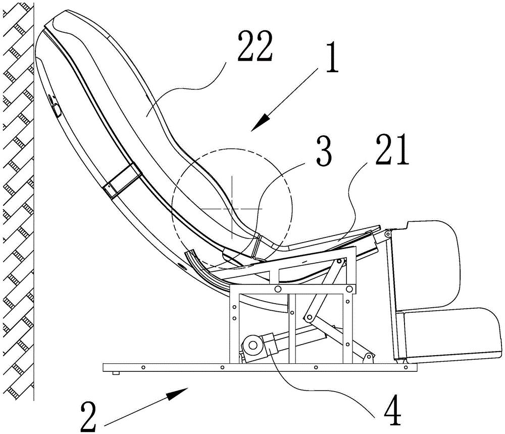
本实用新型公开了一种椅架结构,提供了一种结构简单,人体承载座在后仰过程中同步前滑,座椅占用空间小,方便在狭小空间使用的具有零靠墙摆放功能的按摩椅,解决了现有技术中存在的零重力按摩椅使用时占用空间大,使用场地具有一定的局限性,从而无法满足狭小空间状态使用要求等的技术问题,它包括底座及设于底座上的V形人体承载座,所述V形人体承载座通过互配的滑块和V形的滑槽滑动连接在底座上,滑块和滑槽互配滑动时,使V形人体承载座向前平移并保持同步向后翻转,或使V形人体承载座向后平移并保持同步向前翻转,且在底座上设有可带动V形人体承载座相对底座滑动的驱动装置。


