授权公布号:CN215501107U
一种面条机组件的成型模具
有效
申请
2021-09-03
申请公布
1970-01-01
授权
2022-01-14
预估到期
2031-09-03
| 申请号 | CN202122118712.1 |
| 申请日 | 2021-09-03 |
| 授权公布号 | CN215501107U |
| 授权公告日 | 2022-01-14 |
| 分类号 | A21C11/00;F16J15/06 |
| 分类 | 焙烤;制作或处理面团的设备;焙烤用面团〔1,8〕; |
| 申请人名称 | 常州市墅乐厨具有限公司 |
| 申请人地址 | 江苏省常州市新北区西夏墅镇 |
专利法律状态
2022-01-14
授权
状态信息
授权
摘要
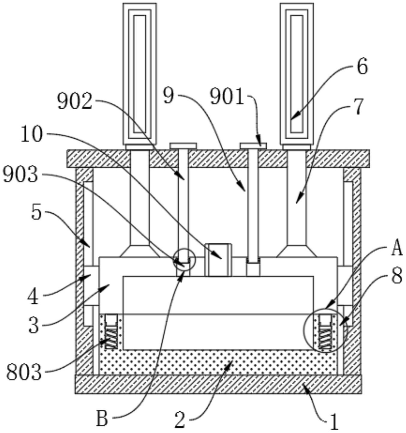
本实用新型公开了一种面条机组件的成型模具,涉及面条机组件生产领域,包括框体,框体的顶部两侧均安装有气缸,气缸的输出端通过活塞杆安装有上模具,上模具的顶部设置有顶出组件,框体的内部两侧均开设有滑槽,框体的内部下方安装有下模具,下模具的顶部设置有推料组件,上模具的顶部中间位置处连接有注塑管。本实用新型通过设置有顶出组件,当上模具上移并带动物品上移后,螺杆的底端会与物品接触,且随着上模具持续上移,螺杆会将物品从上模具内部推出,继而防止物品一直粘附在上模具的内部,进而提高了对物品的取出效率,同时密封圈的存在可防止物料通过通孔排出,继而提高上模具的密封性,而使用者也可通过旋转螺杆,将螺杆从框体内部取出。


