授权公布号:CN217620141U
一种电机分选用夹持装置
有效
申请
2022-05-20
申请公布
1970-01-01
授权
2022-10-21
预估到期
2032-05-20
| 申请号 | CN202221233000.2 |
| 申请日 | 2022-05-20 |
| 授权公布号 | CN217620141U |
| 授权公告日 | 2022-10-21 |
| 分类号 | B25B11/00 |
| 分类 | 手动工具;轻便机动工具;手动器械的手柄;车间设备;机械手; |
| 申请人名称 | 常州市墅乐厨具有限公司 |
| 申请人地址 | 江苏省常州市新北区西夏墅镇翠屏湖路19号 |
专利法律状态
2022-10-21
授权
状态信息
授权
摘要
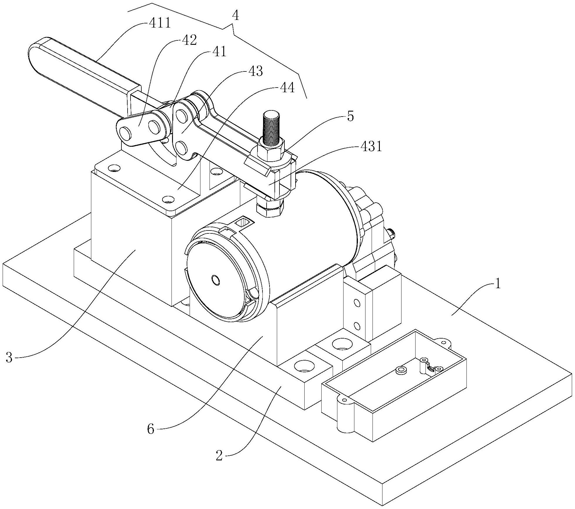
本实用新型涉及一种电机分选用夹持装置,包括底座、控制机构、夹持件和限位座,所述限位座安装在底座上用于支撑待检测电机,所述夹持件位于限位座上方用于固定待检测电机,所述夹持件安装在控制机构上并通过控制机构控制其上下移动进而实现对待检测电机的夹紧和松开,所述控制机构安装在底座上。本实用新型的主要用途是提供一种结构设计合理巧妙,稳定可靠,可夹持不同尺寸的待检测电机,使用灵活,调控方便的电机分选用夹持装置。


