授权公布号:CN113334439B
一种纱网加工装置
有效
申请
2021-05-25
申请公布
2021-09-03
授权
2023-09-01
预估到期
2041-05-25
| 申请号 | CN202110572573.1 |
| 申请日 | 2021-05-25 |
| 申请公布号 | CN113334439A |
| 申请公布日 | 2021-09-03 |
| 授权公布号 | CN113334439B |
| 授权公告日 | 2023-09-01 |
| 分类号 | B26D1/04;B26D7/02;B26D7/14;B26D7/06 |
| 分类 | 手动切割工具;切割;切断; |
| 申请人名称 | 利辛县富亚纱网有限公司 |
| 申请人地址 | 安徽省亳州市利辛县工业园区劳动创业园 |
专利法律状态
2023-09-01
授权
状态信息
授权
2021-09-03
公布
状态信息
公布
摘要
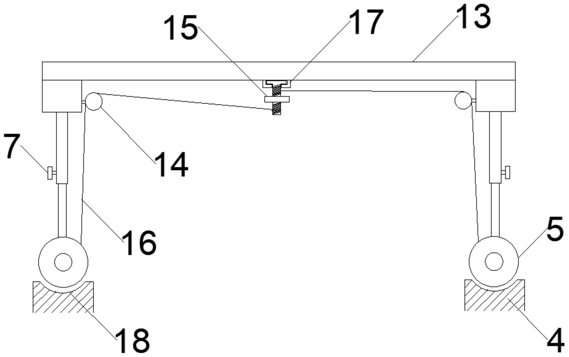
本说明书一个或多个实施例提供一种纱网加工装置,包括支撑框,设置为矩形结构,所述支撑框设置于平行的两个主杆上,所述支撑框内底部设置有摩擦垫;多个纱网固定架,每个所述纱网固定架包括挤压筒,多个所述挤压筒紧密排布在摩擦垫上,相对的两个主杆上对应的挤压筒通过紧度调节装置连接。本发明提供的一种纱网加工装置,通过在支撑框上设置摩擦垫,再通过固定架上的挤压筒将纱网固定在摩擦垫上,可以有效的防止纱网滑脱,在纱网在摩擦垫上有限位移的滑动时,所述挤压筒转动并通过紧度调节装置使得相对位置的另一个挤压筒转动,以实现沿裁剪方向的垂直方向上的纱网绷紧度相同使得纱网沿沿裁剪方向分布均匀,使得裁剪后的纱网的形状更加规整。


