授权公布号:CN218489819U
一种电动车仪表盘
有效
申请
2022-10-13
申请公布
1970-01-01
授权
2023-02-17
预估到期
2032-10-13
| 申请号 | CN202222700563.4 |
| 申请日 | 2022-10-13 |
| 授权公布号 | CN218489819U |
| 授权公告日 | 2023-02-17 |
| 分类号 | B62J50/22 |
| 分类 | 无轨陆用车辆; |
| 申请人名称 | 北京牛电科技有限责任公司 |
| 申请人地址 | 北京市昌平区回龙观东大街195号院1号楼302室 |
专利法律状态
2023-02-17
授权
状态信息
授权
摘要
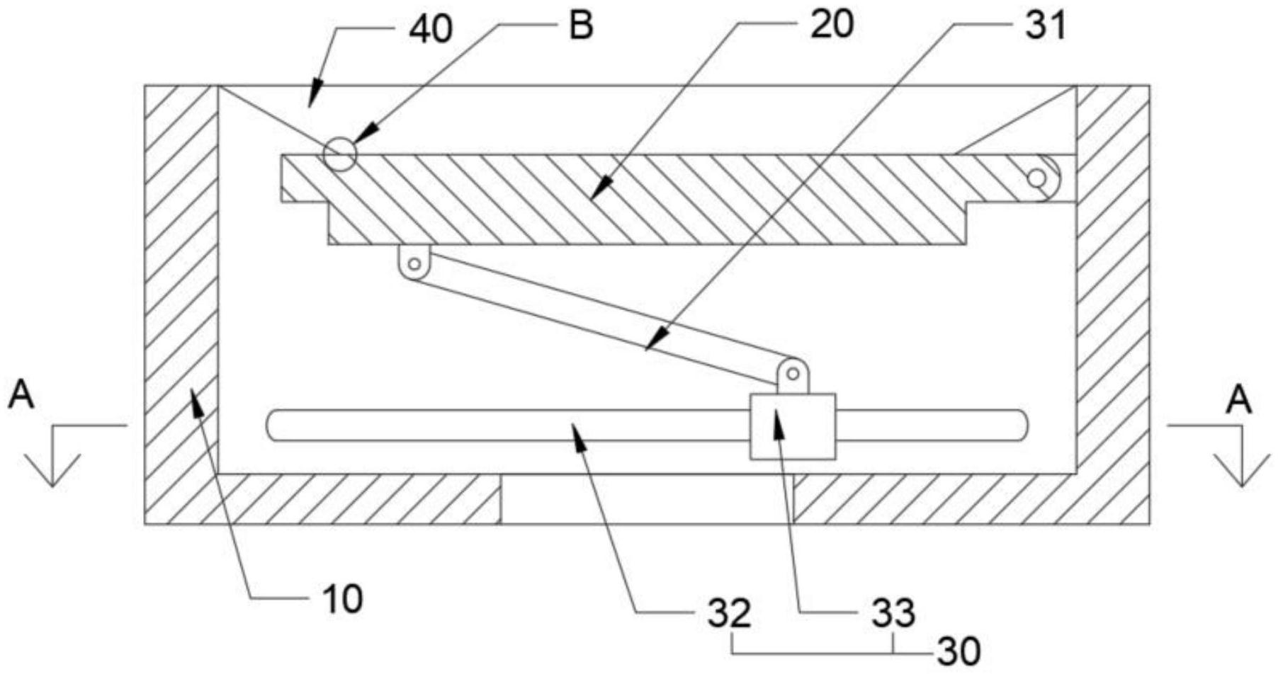
本实用新型提供了一种电动车仪表盘,包括安装壳与安装在所述安装壳顶部的仪表盘本体,所述仪表盘本体与安装壳可一侧铰接,所述安装壳内侧设有滑动机构,所述滑动机构与仪表盘本体之间连接有推杆,所述仪表盘本体边缘与安装壳之间设有弹性防水层。本实用新型具有如下有益效果:通过仪表盘本体与外壳之间的弹性防水层,其解决了现有的可以调节的电动车仪表盘不能很好防护异物进入电动车外壳的技术问题。


