授权公布号:CN218489812U
一种电动车后视镜
有效
申请
2022-10-13
申请公布
1970-01-01
授权
2023-02-17
预估到期
2032-10-13
| 申请号 | CN202222695940.X |
| 申请日 | 2022-10-13 |
| 授权公布号 | CN218489812U |
| 授权公告日 | 2023-02-17 |
| 分类号 | B62J29/00;B62J6/26;B62J6/015 |
| 分类 | 无轨陆用车辆; |
| 申请人名称 | 北京牛电科技有限责任公司 |
| 申请人地址 | 北京市昌平区回龙观东大街195号院1号楼302室 |
专利法律状态
2023-02-17
授权
状态信息
授权
摘要
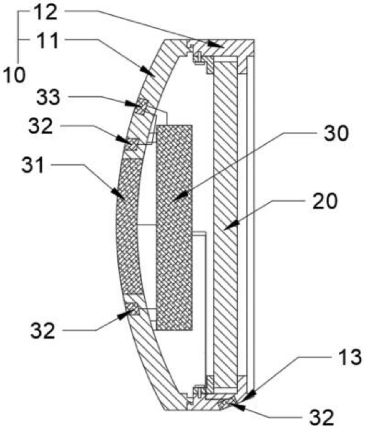
本实用新型提供了一种电动车后视镜,包括壳体与设置在所述壳体一侧的后视镜面,所述壳体内设有移动电源,所述壳体远离后视镜面一侧设有与移动电源的连接的太阳能板,所述壳体上设有与移动电源连接的警示灯。本实用新型具有如下有益效果:通过单独设在壳体内的移动电源配合与其连接的太阳能板与警示灯,其解决了现有的后视镜安装警示灯,需要与电动车的电源进行走线连接的技术问题。


