授权公布号:CN112188661B
一种自控温电伴热带
有效
申请
2020-09-30
申请公布
2021-01-05
授权
2023-01-10
预估到期
2040-09-30
| 申请号 | CN202011060251.0 |
| 申请日 | 2020-09-30 |
| 申请公布号 | CN112188661A |
| 申请公布日 | 2021-01-05 |
| 授权公布号 | CN112188661B |
| 授权公告日 | 2023-01-10 |
| 分类号 | H05B3/56;H05B3/02 |
| 分类 | 其他类目不包含的电技术; |
| 申请人名称 | 安邦电气股份有限公司 |
| 申请人地址 | 安徽省滁州市天长市天冶北路288号 |
专利法律状态
2024-01-30
专利实施许可合同备案的生效、变更及注销
状态信息
专利实施许可合同备案的生效;IPC(主分类):H05B3/56;专利申请号:2020110602510;专利号:ZL2020110602510;合同备案号:X2024980000277;让与人:安邦电气股份有限公司;受让人:安徽中宝电气有限公司;发明名称:一种自控温电伴热带;申请日:20200930;申请公布日:20210105;授权公告日:20230110;许可种类:普通许可;备案日期:20240111
2023-01-10
授权
状态信息
授权
2021-01-22
实质审查的生效
状态信息
实质审查的生效;IPC(主分类):H05B3/56;申请日:20200930
2021-01-05
公布
状态信息
公布
摘要
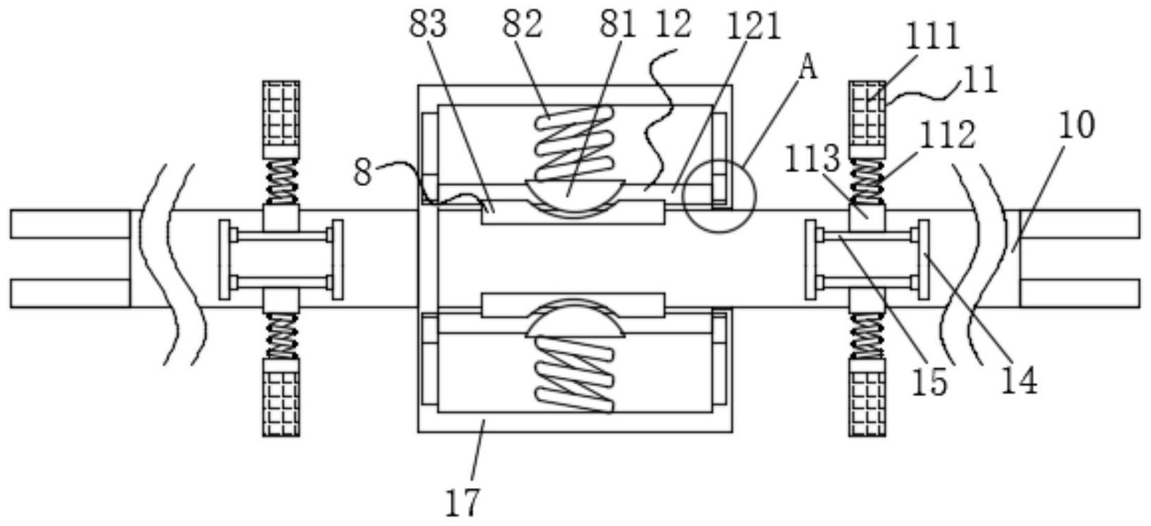
本发明公开了一种自控温电伴热带,涉及电伴热带领域,包括伴热带本体,所述伴热带本体一端固定连接有固定壳,伴热带固定壳内壁的上下两侧面均固定连接有限位机构,限位机构的左右两侧面均固定连接有滑动机构,所述限位机构与右侧伴热带本体的正面固定连接,右侧伴热带本体穿过固定壳右侧面开设的通孔并延伸进固定壳内。本发明采用限位机构,利用第一弹簧的伸缩使得限位块插入到凹槽内,从而实现两个伴热带本体的快速连接,同时利用第二弹簧的弹力能够使得伴热带被固定在任意厚度的位置,避免了人们利用胶布或其他固定结构来进行固定,节约了资源和大量的时间,提高了工作效率。


