授权公布号:CN113532963B
一种烟气采样复合管
有效
申请
2021-08-25
申请公布
2021-10-22
授权
2023-07-14
预估到期
2041-08-25
| 申请号 | CN202110986281.2 |
| 申请日 | 2021-08-25 |
| 申请公布号 | CN113532963A |
| 申请公布日 | 2021-10-22 |
| 授权公布号 | CN113532963B |
| 授权公告日 | 2023-07-14 |
| 分类号 | G01N1/22;G01N1/24 |
| 分类 | 测量;测试; |
| 申请人名称 | 安邦电气股份有限公司 |
| 申请人地址 | 安徽省滁州市天长市天冶北路288号 |
专利法律状态
2023-07-14
授权
状态信息
授权
2021-11-09
实质审查的生效
状态信息
实质审查的生效;IPC(主分类):G01N1/22;申请日:20210825
2021-10-22
公布
状态信息
公布
摘要
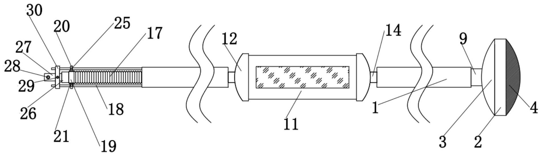
本发明公开了一种烟气采样复合管,包括:PVC管,引烟结构,所述引烟结构安置于PVC管上;过滤结构,所述过滤结构安置于所述PVC管上;延伸结构,所述延伸结构安置于PVC管上。本发明的有益效果是,引烟结构,提高烟气流速,便于烟气收集,提高烟气流速,提高烟气收集效率,过滤结构,便于烟气进行合理的过滤,将颗粒进行合理的过滤,便于后续烟气检测,通过延伸结构,便于调整使用长度,提高使用时灵活性。


