授权公布号:CN220537652U
酸化法替代芬顿法处理油剂废水装置
有效
申请
2023-08-08
申请公布
1970-01-01
授权
2024-02-27
预估到期
2033-08-08
| 申请号 | CN202322128111.8 |
| 申请日 | 2023-08-08 |
| 授权公布号 | CN220537652U |
| 授权公告日 | 2024-02-27 |
| 分类号 | C02F9/00;B01F27/90;C02F103/30N;C02F1/66N;C02F1/40N;C02F3/00N;C02F1/32N |
| 分类 | 水、废水、污水或污泥的处理; |
| 申请人名称 | 浙江海利得新材料股份有限公司 |
| 申请人地址 | 浙江省嘉兴市海宁市中国经编产业园区新民路18号 |
专利法律状态
2024-02-27
授权
状态信息
授权
摘要
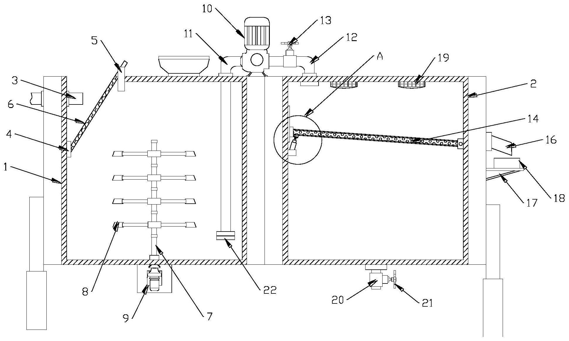
本实用新型涉及废水处理技术领域,具体讲是酸化法替代芬顿法处理油剂废水装置,包括并列设置的预处理池与酸化处理池,所述预处理池邻近入水口的下方开设有与预处理池宽度方向一致的限位卡槽,所述预处理池的上表面固定安装有基座,所述限位卡槽与基座上放置有同一个第一滤网;所述预处理池内腔的底部位置通过轴承安装有搅拌杆,本实用新型通过设置预处理池与酸化处理池相配合,预处理池内通过投放聚合氯化铝调节油剂废水PH值,搅拌杆对废水及药剂进行搅拌,使得药剂能够与废水充分混合,提高废水处理效果;紫外线照灯对废水进行杀菌效果,从而达到废水杀菌的目的,通过多步骤相配合,提高废水排放标准。


