授权公布号:CN217368712U
蜂王浆干块磨粉处理装置
有效
申请
2022-04-18
申请公布
1970-01-01
授权
2022-09-06
预估到期
2032-04-18
| 申请号 | CN202220895443.1 |
| 申请日 | 2022-04-18 |
| 授权公布号 | CN217368712U |
| 授权公告日 | 2022-09-06 |
| 分类号 | B02C21/00;B02C19/00;B02C18/10;B02C18/24 |
| 分类 | 破碎、磨粉或粉碎;谷物碾磨的预处理; |
| 申请人名称 | 北京中蜜科技发展有限公司 |
| 申请人地址 | 北京市海淀区中关村南大街12号 |
专利法律状态
2022-09-06
授权
状态信息
授权
摘要
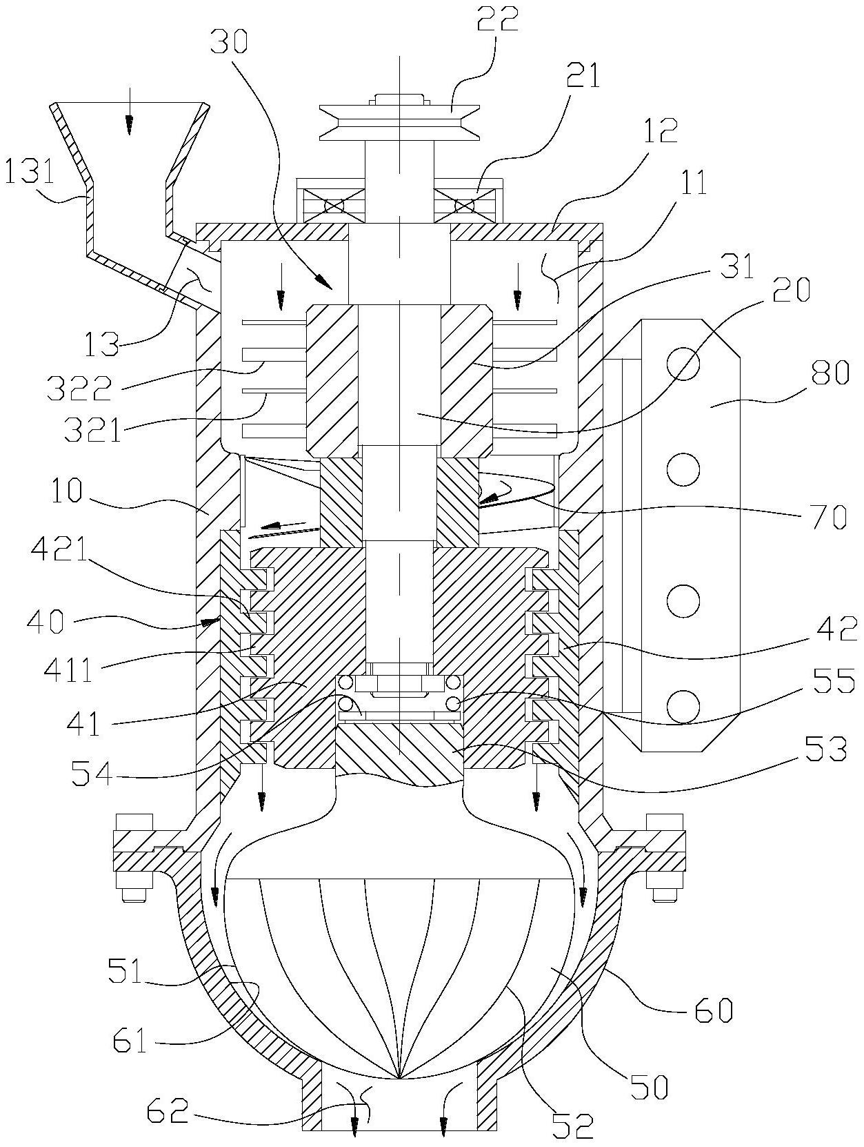
本实用新型公开了一种蜂王浆干块磨粉处理装置,包括:筒体,其内形成有处理腔,所述筒体的上部的一侧形成有与所述处理腔连通的入料口;转轴,其伸入至所述处理腔中,所述转轴的上端装设有皮带轮;刀盘,其设置于所述处理腔中,所述刀盘包括套设于所述转轴并随所述转轴转动的刀盘主体以及布置于所述刀盘主体的外周面上的多个刀片;研磨球头,其连接至所述转轴的端部并随所述转轴转动,所述研磨球头的下部具有球形面;底壳,其扣设于所述筒体的下端口,所述底壳的内部形成有球形面,所述研磨球头的球形面的直径小于所述底壳的球形面的直径,所述研磨球头的球形面与所述底壳的球形面限定出研磨区域,所述底壳的底部形成有出料口。


