授权公布号:CN219701053U
电驱滑车制动装置
有效
申请
2023-04-19
申请公布
1970-01-01
授权
2023-09-19
预估到期
2033-04-19
| 申请号 | CN202320937730.9 |
| 申请日 | 2023-04-19 |
| 授权公布号 | CN219701053U |
| 授权公告日 | 2023-09-19 |
| 分类号 | A63G21/06 |
| 分类 | 运动;游戏;娱乐活动; |
| 申请人名称 | 浙江南方文旅科技股份有限公司 |
| 申请人地址 | 浙江省温州市鹿城区周岭路26号 |
专利法律状态
2023-09-19
授权
状态信息
授权
摘要
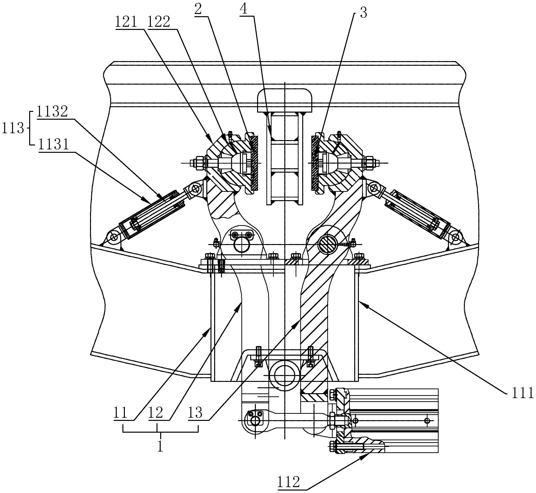
本实用新型公开了一种电驱滑车制动装置,包括动力装置、左夹板和右夹板以及沿着轨道延伸的制动板,所述动力装置包括驱动箱、左拨杆和右拨杆,所述左夹板和右夹板分别通过球面可转动的安装在左拨杆和右拨杆的端部上,所述左拨杆和右拨杆可活动的设置在驱动箱上,以受驱动箱驱动翻转而使得左夹板和右夹板相互靠近或是远离。本实用新型的电驱滑车制动装置,采用了将左夹板和右夹板与左拨杆和右拨杆之间球面连接的方式,可使得左夹板和右夹板具有一定的转动空间,因此便能够随着制动板的弯曲而转动了,有效的保证了接触面积。


