授权公布号:CN216324365U
一种能弯曲空间曲线的弯管机
有效
申请
2021-10-16
申请公布
1970-01-01
授权
2022-04-19
预估到期
2031-10-16
| 申请号 | CN202122491767.7 |
| 申请日 | 2021-10-16 |
| 授权公布号 | CN216324365U |
| 授权公告日 | 2022-04-19 |
| 分类号 | B21D7/08;B21D7/16 |
| 分类 | 基本上无切削的金属机械加工;金属冲压; |
| 申请人名称 | 浙江南方文旅科技股份有限公司 |
| 申请人地址 | 浙江省温州市鹿城区周岭路26号 |
专利法律状态
2022-04-19
授权
状态信息
授权
摘要
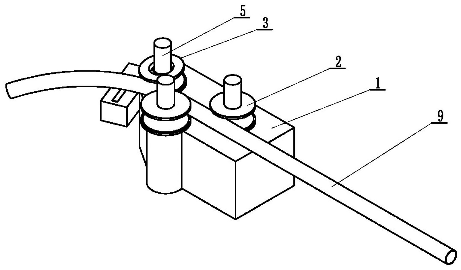
本实用新型涉及一种能弯曲空间曲线的弯管机。主要解决现有的弯管机不能弯出大转角空间曲线的长管的问题。其特征在于:所述导向辊(3)安装在内圈座(4)上,所述内圈座(4)固定在导向轴(5)上,所述内圈座(4)与导向辊(3)之间的接触面为圆球面,所述导向辊(3)能够相对内圈座(4)任意方向转动。本实用新型对导向辊的安装结构进行了改进,使得导向辊能够相对导向轴偏转,长管自转时导向辊能够随着长管偏转,长管受到的阻力小,能够弯出大转角空间曲线的长管。


