授权公布号:CN206262335U
一种用于生产玻璃马赛克的废气净化装置
有效
申请
2016-11-28
申请公布
1970-01-01
授权
2017-06-20
预估到期
2026-11-28
| 申请号 | CN201621286062.4 |
| 申请日 | 2016-11-28 |
| 授权公布号 | CN206262335U |
| 授权公告日 | 2017-06-20 |
| 分类号 | B01D53/75;B01D53/78;B01D53/82;B01D53/68;B01D53/56 |
| 分类 | 一般的物理或化学的方法或装置; |
| 申请人名称 | 广东伟祺艺术玻璃有限公司 |
| 申请人地址 | 广东省肇庆市四会市大沙镇三江工业园(南江赵村南石岗) |
专利法律状态
2020-11-03
专利权人的姓名或者名称、地址的变更
状态信息
专利权人的姓名或者名称、地址的变更;IPC(主分类):B01D53/75;变更事项:专利权人;变更前:四会市伟祺玻璃建材有限公司;变更后:广东伟祺艺术玻璃有限公司;变更事项:地址;变更前:526200 广东省肇庆市四会市大沙镇三江工业园(南江赵村南石岗);变更后:526200 广东省肇庆市四会市大沙镇三江工业园(南江赵村南石岗)
2017-06-20
授权
状态信息
授权
摘要
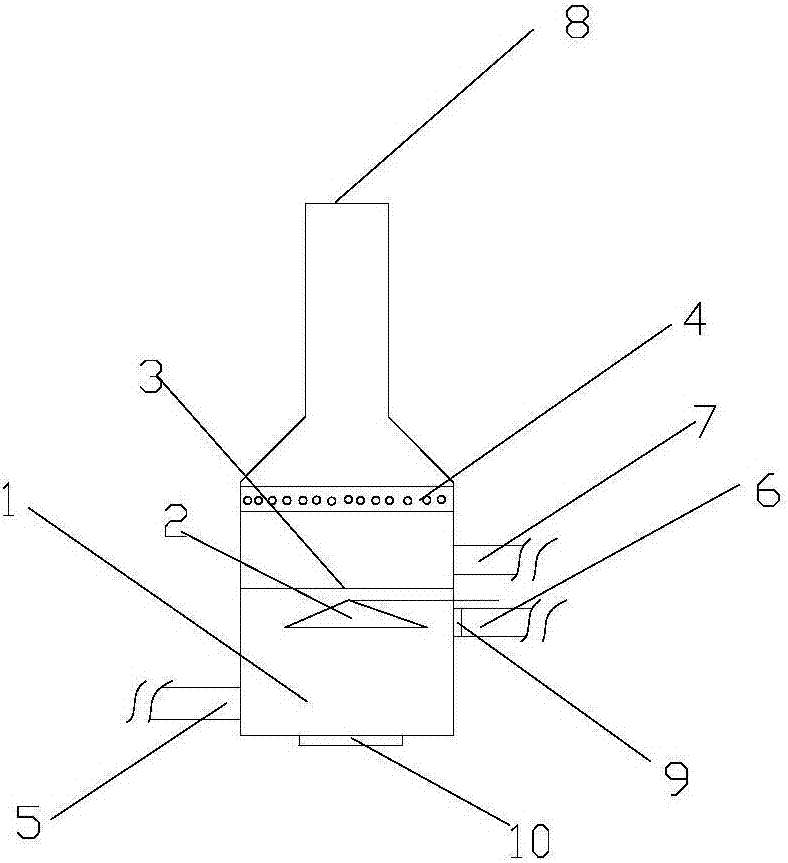
本实用新型公开了一种用于生产玻璃马赛克的废气净化装置,其包括塔体、喷淋装置、隔板、气体第一入口、气体第一出口、气体第二入口、气体第二出口和固体吸收隔板,其中隔板将塔体分为上下两层空间,所述固定吸收隔板设于塔体的上层空间,所述喷淋装置设于塔体的下层空间;将待处理的废气通过气体第一入口进入到塔体的下层空间内,经过喷淋装置喷出的液体进行第一净化后从气体第一出口进入到风机中,再通过风机加压后将废气通过气体第二入口进入到塔体的上层空间内,从而使得废气在经过固定吸收隔板再一次进行进化,最终净化后的气体经过气体第二出口排出。本实用新型结构简单、安装方便、可大大节省成本。


