授权公布号:CN208865767U
一种防泄漏超细微粉清理装置
有效
申请
2018-09-13
申请公布
1970-01-01
授权
2019-05-17
预估到期
2028-09-13
| 申请号 | CN201821501101.7 |
| 申请日 | 2018-09-13 |
| 授权公布号 | CN208865767U |
| 授权公告日 | 2019-05-17 |
| 分类号 | B02C23/00;B01D46/02;B01D46/04;B01D46/42 |
| 分类 | 破碎、磨粉或粉碎;谷物碾磨的预处理; |
| 申请人名称 | 浙江华彩新材料有限公司 |
| 申请人地址 | 浙江省湖州市德清县阜溪街道长虹街46号 |
专利法律状态
2019-05-17
授权
状态信息
授权
摘要
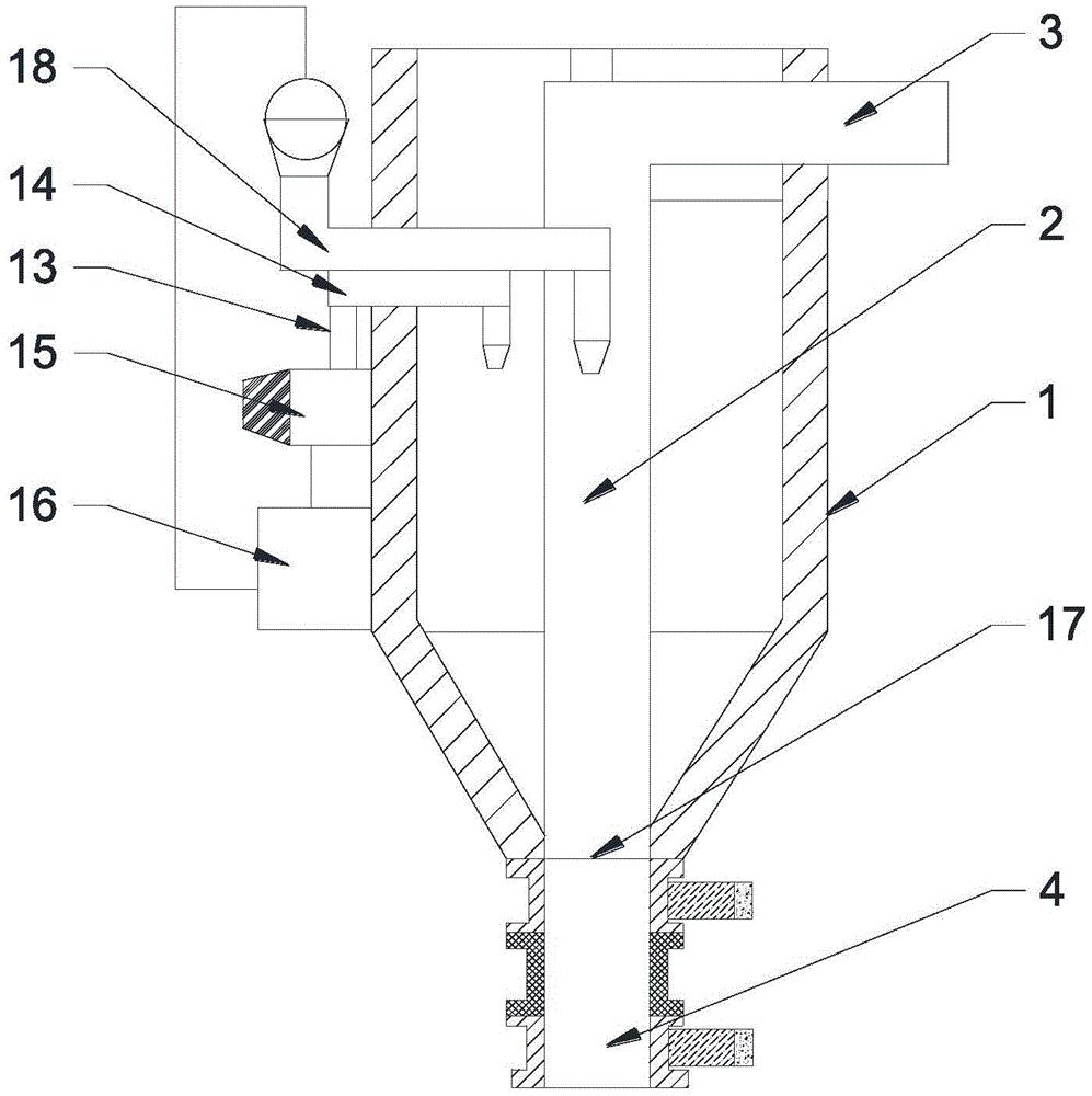
本实用新型涉及粉末涂料生产设备,尤其涉及一种防泄漏超细微粉清理装置,克服了现有技术中粉末粉体容易泄露,从而造成粉体浪费以及影响工作人员身体的问题。所述的装置包括一个中空状的微粉收集罐,其内部设有一个粉尘收集袋,粉尘收集袋上端设有一个与之相连通的粉尘进料管,微粉收集罐下端还固定连接有一个出料控制装置,其包括一个上蝶阀、出料管以及下蝶阀,上蝶阀上端与出料口相固定连接,下端与出料管的上端固定连接,所述的出料管下端与下蝶阀固定连接。本实用新型具有以下有益效果:(1)粉末涂料中的超细微粉不会泄露;(2)超细微粉能够重新利用,节约成本;(3)工人的身体健康得到有效保障。


