授权公布号:CN203430938U
梯架锁固件
有效
申请
2013-08-23
申请公布
1970-01-01
授权
2014-02-12
预估到期
2023-08-23
| 申请号 | CN201320516744.X |
| 申请日 | 2013-08-23 |
| 授权公布号 | CN203430938U |
| 授权公告日 | 2014-02-12 |
| 分类号 | F16B7/18 |
| 分类 | 工程元件或部件;为产生和保持机器或设备的有效运行的一般措施;一般绝热; |
| 申请人名称 | 许昌美特桥架股份有限公司 |
| 申请人地址 | 河南省许昌市经济技术开发区阳光大道西段许昌美特桥架股份有限公司 |
专利法律状态
2016-05-18
专利权质押合同登记的生效、变更及注销
状态信息
专利权质押合同登记的注销IPC(主分类):F16B 7/18授权公告日:20140212申请日:20130823登记号:2015410000003出质人:许昌美特桥架股份有限公司、尚新春质权人:中国农业银行股份有限公司许昌魏都支行解除日:20160422
2015-05-13
专利权质押合同登记的生效、变更及注销
状态信息
专利权质押合同登记的生效IPC(主分类):F16B 7/18登记号:2015410000003登记生效日:20150318出质人:许昌美特桥架股份有限公司、尚新春质权人:中国农业银行股份有限公司许昌魏都支行实用新型名称:梯架锁固件申请日:20130823授权公告日:20140212
2014-02-12
授权
状态信息
授权
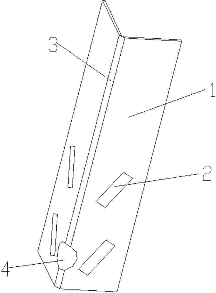
摘要
本实用新型公开了一种梯架锁固件,包括折弯的板材,该板材的两个侧面上分别设有倾斜的长圆孔,两个侧面上的长圆孔沿板材的折弯线呈对称的八字形结构。梯架锁固件两个面上的长圆孔,在与立柱或支架固定时,可与立柱或支架的孔洞交叉配合,既可保证其有足够的调节余量,满足了施工安装的需要,同时在安装后,梯架受到向下的力时,该结构受到震动向下滑动,从而越来越紧固,避免了由于剧烈震动而导致固定螺栓松动问题,提高了桥架可靠性和安全性。


