授权公布号:CN107181215B
桥架连接结构及使用该结构的安装方法
失效
申请
2016-11-01
申请公布
2017-09-19
授权
2019-07-30
预估到期
2036-11-01
| 申请号 | CN201610935081.3 |
| 申请日 | 2016-11-01 |
| 申请公布号 | CN107181215A |
| 申请公布日 | 2017-09-19 |
| 授权公布号 | CN107181215B |
| 授权公告日 | 2019-07-30 |
| 分类号 | H02G3/04 |
| 分类 | 发电、变电或配电; |
| 申请人名称 | 许昌美特桥架股份有限公司 |
| 申请人地址 | 河南省许昌市经济开发区阳光大道 |
专利法律状态
2023-11-10
专利权的终止
状态信息
未缴年费专利权终止;IPC(主分类):H02G3/04;专利号:ZL2016109350813;申请日:20161101;授权公告日:20190730;终止日期:
2019-07-30
授权
状态信息
授权
2017-11-07
实质审查的生效
状态信息
实质审查的生效;IPC(主分类):H02G3/04;申请日:20161101
2017-09-19
公布
状态信息
公布
摘要
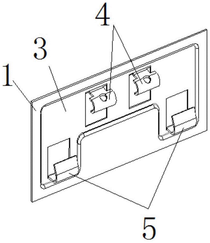
本发明公开了一种桥架连接结构及使用该结构的安装方法,包括桥架和连接板,桥架至少为2个,桥架的两端分别设有安装孔;连接板由第一连接板和第二连接板构成,第一连接板上设有上卡接结构和两个下卡接结构;第二连接板的上端设有与所述两个上卡接结构相配合的固定孔,下端设有与所述的下卡接结构相配合的弧形折弯结构;所述的弧形折弯结构置于所述的下卡接结构中;所述的上卡接结构为开口向下的上圆弧钩,所述的下卡接结构为开口向上的下圆弧钩,第二连接板下端的弧形折弯的高度大于第一连接板下侧张口式圆弧钩内腔尺寸。本发明采用的技术方案,在满足桥架承载力基础上实现桥架的无螺栓快速卡装,提高安装效率5倍以上。


