授权公布号:CN210292494U
一种具有自动除霜功能的低温空气源热泵
有效
申请
2019-07-29
申请公布
1970-01-01
授权
2020-04-10
预估到期
2029-07-29
| 申请号 | CN201921202911.7 |
| 申请日 | 2019-07-29 |
| 授权公布号 | CN210292494U |
| 授权公告日 | 2020-04-10 |
| 分类号 | F25D21/08;F25B47/00;F25B30/02 |
| 分类 | 制冷或冷却;加热和制冷的联合系统;热泵系统;冰的制造或储存;气体的液化或固化; |
| 申请人名称 | 河北纳森空调有限公司 |
| 申请人地址 | 河北省衡水市枣强经济开发区(枣强县建设北路366号) |
专利法律状态
2020-04-10
授权
状态信息
授权
摘要
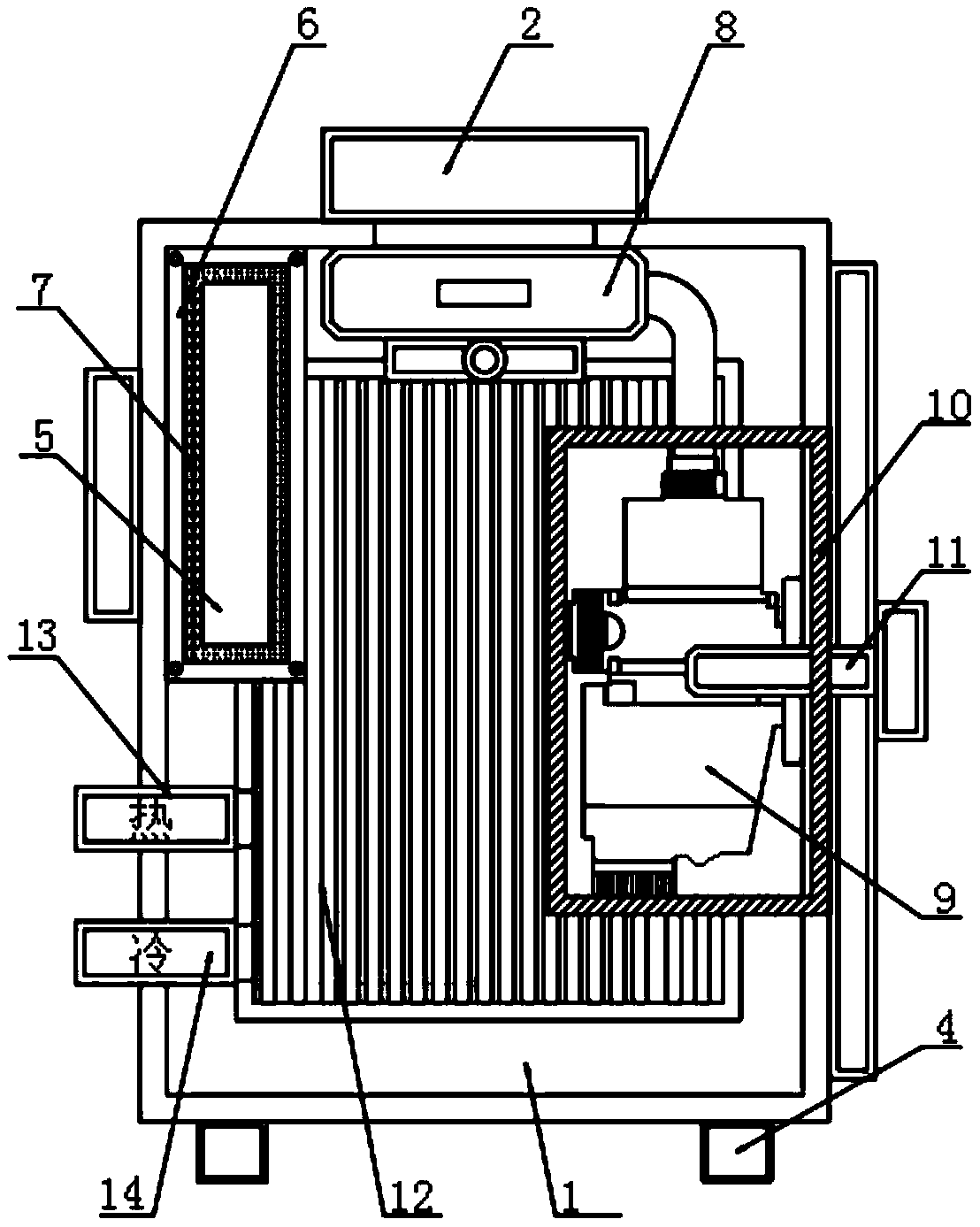
本实用新型公开了一种具有自动除霜功能的低温空气源热泵,具体涉及热泵领域,包括外壳、蒸发器和防护框,所述外壳的顶端螺纹连接有通风管,所述外壳的内部设有防护槽,所述防护槽的两端均设有圆孔板,所述防护槽的内壁设有石棉层,所述蒸发器位于防护槽的一侧,所述蒸发器的下方设有压缩机,所述压缩机的前端和后端均设有加热板,所述防护框位于外壳的后端,所述防护框的中间设有隔板,所述隔板与防护框之间设有连接柱。本实用新型通过防护槽能够对热泵内部的控制主板起到保护作用,利用防护框和隔板的配合使用,能够对散热口进行调节,防止空气源热泵在不使用时,灰尘从散热口进入装置内部。


