授权公布号:CN218628441U
一种中央空调能效在线检测装置
有效
申请
2022-12-12
申请公布
1970-01-01
授权
2023-03-14
预估到期
2032-12-12
| 申请号 | CN202223351926.4 |
| 申请日 | 2022-12-12 |
| 授权公布号 | CN218628441U |
| 授权公告日 | 2023-03-14 |
| 分类号 | G01D21/02 |
| 分类 | 测量;测试; |
| 申请人名称 | 河北纳森空调有限公司 |
| 申请人地址 | 河北省衡水市枣强经济开发区(枣强县建设北路366号) |
专利法律状态
2023-03-14
授权
状态信息
授权
摘要
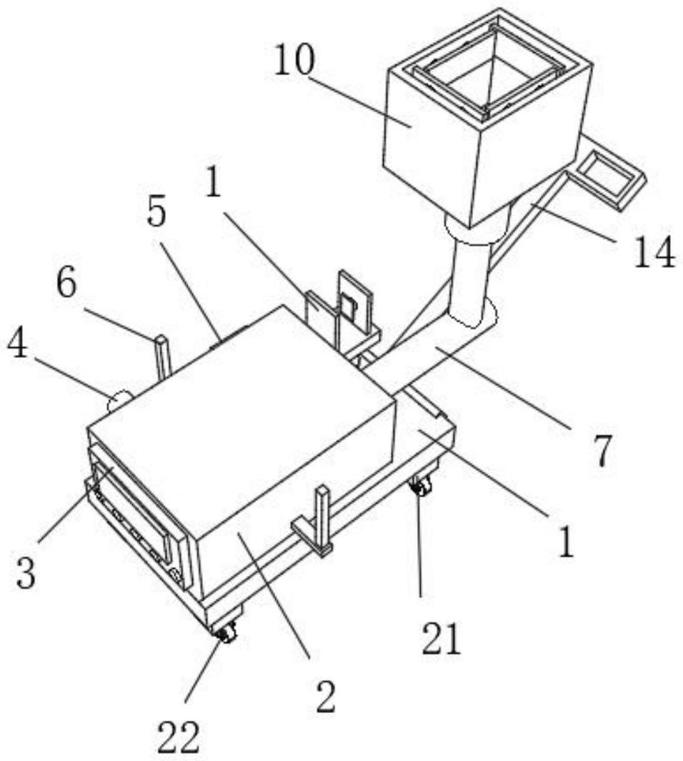
本实用新型涉及中央空调检测技术领域,公开了一种中央空调能效在线检测装置,包括底座,所述底座的顶部右侧固定连接有测试箱,所述测试箱的右侧固定连接有控制器,所述测试箱的前侧右端固定连接有计时器,所述测试箱的前侧左端固定连接有显示屏,所述测试箱的左侧中端设置有输送管,所述输送管的顶部外壁固定连接有防护接口,所述防护接口的前侧设置有风量测量计,所述防护接口的顶部固定连接有连接箱,所述连接箱的内部顶侧四周均固定连接有两个伸缩柱,所述伸缩柱的外壁设置有弹簧。本实用新型中,通过电动推杆推动夹持设备升降,对输送管进行紧固夹持,代替工作人员手持输送管,达到减轻工作强度的效果。


