授权公布号:CN215242330U
一种PVC料槽主轨
有效
申请
2021-04-27
申请公布
1970-01-01
授权
2021-12-21
预估到期
2031-04-27
| 申请号 | CN202120887484.1 |
| 申请日 | 2021-04-27 |
| 授权公布号 | CN215242330U |
| 授权公告日 | 2021-12-21 |
| 分类号 | B29C41/14;B29C41/46;B29C41/34;B29B13/10;B29L31/48N |
| 分类 | 塑料的加工;一般处于塑性状态物质的加工; |
| 申请人名称 | 江苏华源医疗科技有限公司 |
| 申请人地址 | 江苏省盐城市东台市高新技术产业开发区南庄路36号 |
专利法律状态
2021-12-21
授权
状态信息
授权
摘要
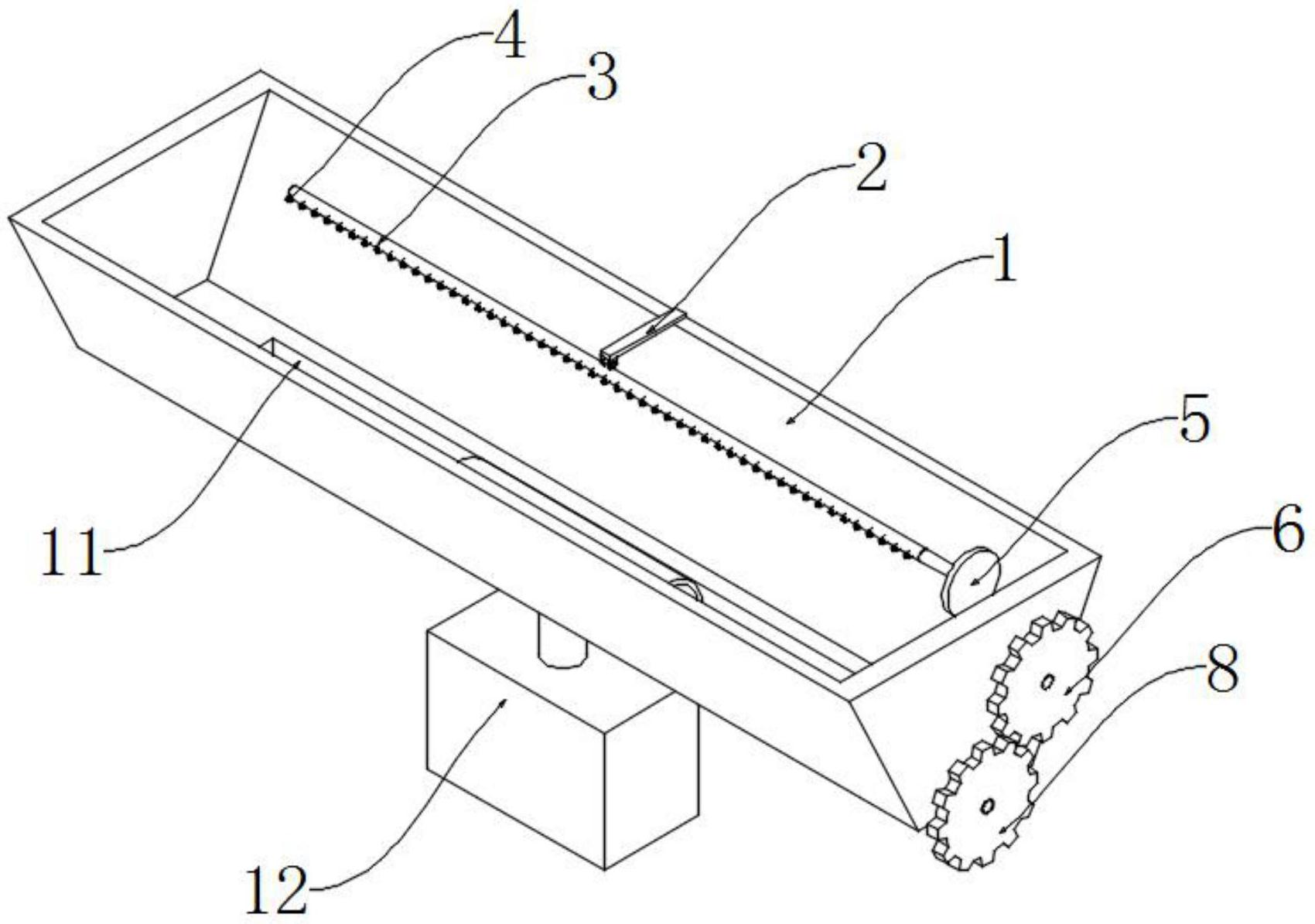
本实用新型公开了一种PVC料槽主轨,包括料槽本体,所述料槽本体顶部设置有固定板,所述固定板一端设置有料管,所述料管外壁设置有喷头,所述料管一端设置有旋转轮,所述料槽本体一侧的内部设置有传动轴,所述传动轴一端设置有主动齿轮,所述主动齿轮另一端设置有凸轮,所述料槽本体底部设置有输送管,所述输送管内部设置有旋转轴。本实用新型通过搅拌叶,从动齿轮带动旋转轴旋转,旋转轴带动搅拌叶旋转,搅拌叶带动料槽本体内的PVC材料向内移动,使PVC材料进入过滤箱内,然后通过过滤箱内的过滤层对PVC材料内的杂质进行过滤,通过过滤之后的PVC材料经过底部的加热块对PVC材料进行加热,从而可以提高PVC材料的流动性。


