授权公布号:CN206108871U
一种液体灌装下料装置
有效
申请
2016-09-13
申请公布
1970-01-01
授权
2017-04-19
预估到期
2026-09-13
| 申请号 | CN201621052370.0 |
| 申请日 | 2016-09-13 |
| 授权公布号 | CN206108871U |
| 授权公告日 | 2017-04-19 |
| 分类号 | B67C3/26 |
| 分类 | 开启或封闭瓶子、罐或类似的容器;液体的贮运; |
| 申请人名称 | 拜耳作物科学(中国)有限公司 |
| 申请人地址 | 浙江省杭州市经济技术开发区内5号路 |
专利法律状态
2017-04-19
授权
状态信息
授权
摘要
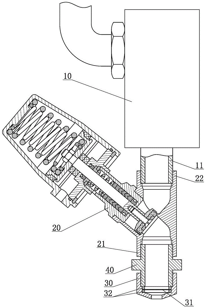
本实用新型涉及一种液体灌装下料装置,包括下料箱、下料阀、下料嘴;所述下料阀是角座阀,所述下料阀安装在所述下料箱的下端,所述下料嘴安装在所述下料阀的出口上。本实用新型的有益效果是:应用更广泛,可适用于多种制剂类型的农药产品的罐装,清洗用水显著减少,清洗时间也大大缩短,提高了农药罐装的效率和可靠性。


